lemon-mirror:
Home >> Subaru >> 2010 >> Outback R >> Repair and Diagnosis >> Transmission >> Transmission Control Systems >> A/T & M/T Control Systems >> Select Cable >> Removal

Select Cable: Removal

  1. Set the vehicle on a lift.
  2. Shift the select lever to "N" range.
  3. Disconnect the ground cable from battery.
  4. Lift up the vehicle.
  5. Remove the front exhaust pipe and rear exhaust pipe.
    • 2.5 L model

      Ref. to REMOVAL , Front Exhaust Pipe. Ref. to REMOVAL , Rear Exhaust Pipe.

    • 3.6 L model

      Ref. to REMOVAL , Front Exhaust Pipe. Ref. to REMOVAL , Rear Exhaust Pipe.

  6. Remove the heat shield cover.
    Fig 1: Identifying Heat Shield Cover
    G06651705Courtesy of SUBARU OF AMERICA, INC.
  7. Remove the snap pin and washer from the shifter arm and remove the select cable from the shifter arm.
    • CVT model
      Fig 2: Identifying Shifter Arm, Snap Pin Plate Assy And Washer (CVT Model)
      G06651745Courtesy of SUBARU OF AMERICA, INC.
    • AT model
      Fig 3: Identifying Shifter Arm, Snap Pin Plate Assy And Washer (AT Model)
      G06651746Courtesy of SUBARU OF AMERICA, INC.
  8. Remove the plate assembly from the transmission case.
    • CVT model
      Fig 4: Identifying Select Cable And Plate Assy (CVT Model)
      G06651747Courtesy of SUBARU OF AMERICA, INC.
    • AT model
      Fig 5: Identifying Select Cable And Plate Assy (AT Model)
      G06651748Courtesy of SUBARU OF AMERICA, INC.
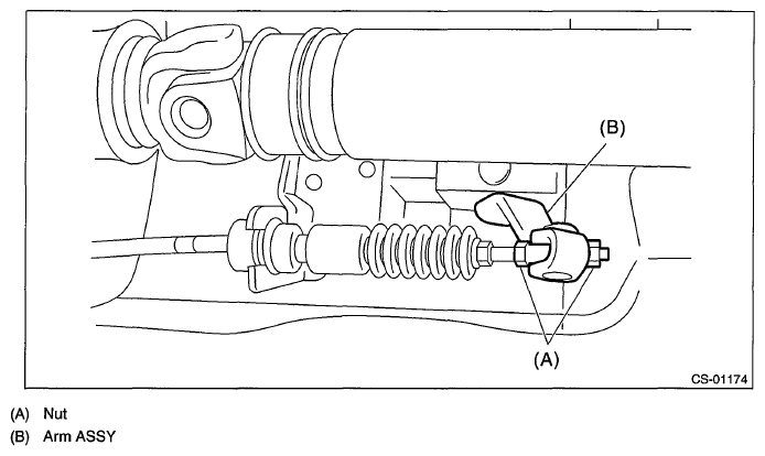
  9. Disconnect the cable from arm assembly.
    Fig 6: Identifying Arm ASSY And Nut
    G06651749Courtesy of SUBARU OF AMERICA, INC.
  10. Raise the claw of clamp to remove the cable from bracket.
    Fig 7: Identifying Claw
    G06651750Courtesy of SUBARU OF AMERICA, INC.
  11. Remove the select cable from plate assembly.