lemon-mirror:
Home >> Subaru >> 2012 >> Forester X, Automatic Trans >> Repair and Diagnosis >> Engine Performance >> Engine Control Systems >> Fuel Injection System - Fuel Injection (H4DO) >> Fuel Sub Level Sensor >> Inspection

Fuel Sub Level Sensor: Inspection

  1. Check that the fuel sub level sensor has no damage.
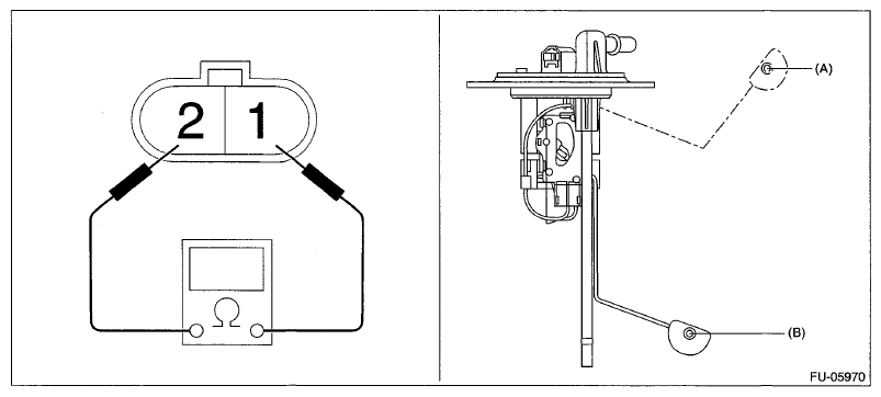
  2. Measure the fuel sub level sensor float position.
    Fig 1: Checking Fuel Sub Level Sensor Float Position
    G07664866Courtesy of SUBARU OF AMERICA, INC.
    FLOAT POSITION REFERENCE CHART

    Float position Standard
    FULL to Datum point (A) 5.31±3.5 mm (0.209±0.138 in)
    EMPTY to Datum point (B) 160.6±3.5 mm (6.32±0.138 in)
  3. Measure the resistance between fuel sub level sensor terminals.
    Fig 2: Measuring Resistance Between Fuel Sub Level Sensor Terminals
    G07664867Courtesy of SUBARU OF AMERICA, INC.
    FLOAT POSITION REFERENCE CHART

    Float position Terminal No. Standard
    FULL (A) 1 and 2 2.0+0.5-1.0 Ω
    EMPTY (B) 62.1 ± 1.0 Ω