lemon-mirror:
Home >> Subaru >> 2012 >> Forester X, Automatic Trans >> Repair and Diagnosis >> Engine Performance >> Engine Control Systems >> Fuel Injection System - Fuel Injection (H4DOTC) >> Electronic Throttle Control Relay >> Inspection

Electronic Throttle Control Relay: Inspection

  1. Check that the electronic throttle control relay has no deformation, cracks or other damages.
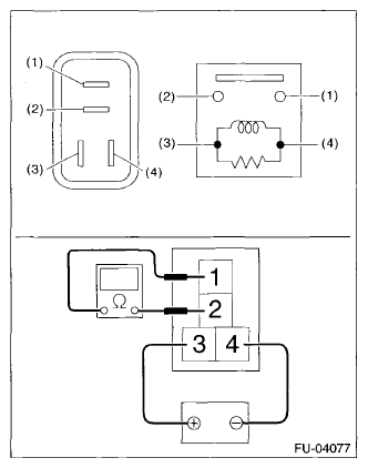
  2. Measure the resistance between electronic throttle control relay terminals.
    Fig 1: Measuring Resistance Between Electronic Throttle Control Relay Terminals
    G07670522Courtesy of SUBARU OF AMERICA, INC.
    RESISTANCE REFERENCE CHART

    Terminal No. Standard
    1 and 2 1 MΩ or more
    3 and 4 93.8 - 136.4 Ω (when 20°C (68°F))
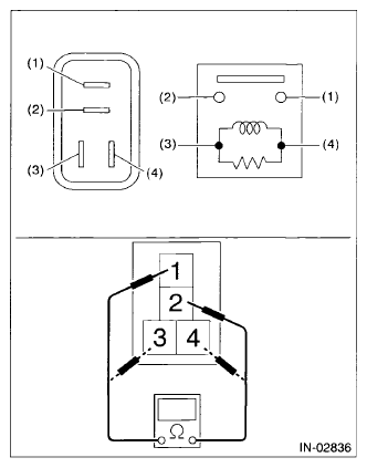
  3. Connect battery positive terminal to terminal No. 3 and battery ground terminal to terminal No. 4, and measure the resistance between the electronic throttle control relay terminals.
    Fig 2: Measuring Resistance Between Electronic Throttle Control Relay Terminals
    G07670523Courtesy of SUBARU OF AMERICA, INC.
RESISTANCE REFERENCE CHART

Terminal No. Standard
1 and 2 Less than 1 Ω