lemon-mirror:
Home >> Subaru >> 2012 >> Forester X, Automatic Trans >> Repair and Diagnosis >> Engine Performance >> Engine Control Systems >> Fuel Injection System - Fuel Injection (H4DOTC) >> Fuel Sub Level Sensor >> Removal

Fuel Sub Level Sensor: Removal

WARNING: Place "NO OPEN FLAMES" signs near the working area.
CAUTION:
  • Be careful not to spill fuel.
  • If the fuel gauge indicates that two thirds or more of the fuel is remaining, be sure to drain fuel before starting work to avoid the fuel to spill.
  1. Release the fuel pressure. < Ref. to RELEASING OF FUEL PRESSURE , PROCEDURE, Fuel. >
  2. Drain fuel. < Ref. to DRAINING FUEL (WITH SUBARU SELECT MONITOR) , PROCEDURE, Fuel. >
  3. Disconnect the ground cable from battery.
    Fig 1: Disconnecting Ground Cable From Battery
    G07670588Courtesy of SUBARU OF AMERICA, INC.
  4. Remove the rear seat cushion. < Ref. to REMOVAL , Rear Seat. >
  5. Remove the service hole cover.
    Fig 2: Locating Service Hole Cover Of Fuel Sub Level Sensor And Screws
    G07670589Courtesy of SUBARU OF AMERICA, INC.
  6. Disconnect the connector from the fuel sub level sensor.
    Fig 3: Locating Fuel Sub Level Sensor Connector
    G07670590Courtesy of SUBARU OF AMERICA, INC.
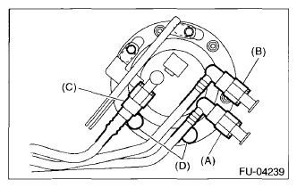
  7. Disconnect the quick connectors of fuel delivery tube (A), fuel return tube (B), and jet pump tube (C). < Ref. to REMOVAL , Fuel Delivery, Return and Evaporation Lines. >
  8. Remove the rubber cap (D) from the nut.
    Fig 4: Identifying Quick Connectors Of Fuel Delivery Tube, Fuel Return Tube And Jet Pump Tube And Rubber Cap
    G07670591Courtesy of SUBARU OF AMERICA, INC.
  9. Remove the bolts and nuts which hold fuel sub level sensor protector and fuel sub level sensor upper plate to the fuel tank.
    Fig 5: Locating Fuel Sub Level Sensor Protector And Fuel Sub Level Sensor Upper Plate To Fuel Tank Bolts And Nuts
    G07670592Courtesy of SUBARU OF AMERICA, INC.
    Fig 6: Locating Fuel Sub Level Sensor Upper Plate Bolts And Nuts
    G07670593Courtesy of SUBARU OF AMERICA, INC.
  10. Remove the fuel sub level sensor from the fuel tank.