lemon-mirror:
Home >> Subaru >> 2012 >> Forester X, Automatic Trans >> Repair and Diagnosis >> Engine Performance >> Engine Control Systems >> Fuel Injection System - Fuel Injection (H4DOTC) >> Fuel Tank >> Installation

Fuel Tank: Installation

  1. Support the fuel tank with a transmission jack, set the fuel tank in place, and temporarily tighten the bolts of the fuel tank band.
    WARNING: A helper is required to perform this work.
    Fig 1: Locating Fuel Tank Band Bolts
    G07670547Courtesy of SUBARU OF AMERICA, INC.
  2. Securely insert the fuel filler hose (A) and evaporation hose (B) until the hose end contacts the spool, then attach the clamp or clip as shown in the figure.

    Tightening torque: 

    2.5 N.m (0.3 kgf-m, 1.8 ft-lb) 

    Fig 2: Identifying Fuel Filler Hose And Evaporation Hose
    G07670548Courtesy of SUBARU OF AMERICA, INC.
    Fig 3: Identifying Fuel Filler Hose, Evaporation Pipe, Spool, Clamp And Clip
    G07670549Courtesy of SUBARU OF AMERICA, INC.
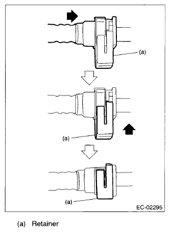
  3. Connect the quick connector of the evaporation hose to the evaporation pipe.
    CAUTION:
    • Check that there is no damage or dust on the quick connector. If necessary, clean the seal surface of the pipe.
    • When connecting the quick connector, securely insert the pipe all the way before locking the retainer.
    • When it is difficult to lock the retainer, make sure that the pipe is securely inserted.
    • Make sure that the quick connector is securely connected.
      Fig 4: Connecting Quick Connector
      G07670550Courtesy of SUBARU OF AMERICA, INC.
      Fig 5: Locating Quick Connector Of Evaporation Hose To Evaporation Pipe
      G07670551Courtesy of SUBARU OF AMERICA, INC.
  4. Connect evaporation hose (B) to connector (A)
    Fig 6: Identifying Evaporation Hose To Connector
    G07670552Courtesy of SUBARU OF AMERICA, INC.
  5. Tighten the bolts of the fuel tank band in the order shown in the figure.

    Tightening torque: 

    33 N.m (3.4 kgf-m, 24.3 ft-lb) 

    Fig 7: Locating Fuel Tank Band Bolts
    G07670553Courtesy of SUBARU OF AMERICA, INC.
  6. Install the rear suspension assembly.
    WARNING: A helper is required to perform this work.
    1. Support the rear differential with the transmission jack.
    2. Support the rear suspension assembly and install the rear suspension assembly to the body.

      Tightening torque: 

      T1: 70 N.m (7.1 kgf-m, 51.6 ft-lb) 

      T2: 145 N.m (14.8 kgf-m, 106.9 ft-lb) 

      Fig 8: Identifying Rear Suspension Assembly
      G07670554Courtesy of SUBARU OF AMERICA, INC.
    3. Install the rear shock absorber to the rear suspension arm.
    NOTE: Use a new self-locking nut.

    Tightening torque: 

    120 N.m (12.2 kgf-m, 88.5 ft-lb) 

    Fig 9: Locating Self-Locking Nut
    G07670555Courtesy of SUBARU OF AMERICA, INC.
  7. Install the rear vehicle height sensor and connect the connector (A) to the rear vehicle height sensor, (model with auto headlight beam leveler, left side only)

    Tightening torque: 

    7.5 N.m (0.8 kgf-m, 5.5 ft-lb) 

    Fig 10: Locating Rear Vehicle Height Sensor Connector Bolts And Nuts
    G07670556Courtesy of SUBARU OF AMERICA, INC.
  8. Install the parking brake cable clamp to the body.

    Tightening torque: 

    18 N.m (1.8 kgf-m, 13.3 ft-lb) 

    Fig 11: Locating Parking Brake Cable Clamp From Body
    G07670557Courtesy of SUBARU OF AMERICA, INC.
  9. Connect the connector to the rear ABS wheel speed sensor.
    Fig 12: Locating Rear ABS Wheel Speed Sensor Connector
    G07670558Courtesy of SUBARU OF AMERICA, INC.
  10. Install the heat shield cover.

    Tightening torque: 

    18 N.m (1.8 kgf-m, 13.3 ft-lb) 

  11. Install the fuel tank protector.

    Tightening torque: 

    Nut: 9 N.m (0.9 kgf-m, 6.6 ft-lb) 

    Bolt: 18 N.m (1.8 kgf-m, 13.3 ft-lb) 

  12. Install the propeller shaft. < Ref. to INSTALLATION , Propeller Shaft. >
  13. Install the rear exhaust pipe and muffler. < Ref. to INSTALLATION , Rear Exhaust Pipe. > < Ref. to INSTALLATION , Muffler. >
  14. Lower the vehicle.
  15. Connect the parking brake cable to the parking brake assembly. < Ref. to INSTALLATION , Parking Brake Assembly (Rear Disc Brake). >
  16. Install the rear disc brake assembly.

    Tightening torque: 

    66 N.m (6.7 kgf-m, 48.7 ft-lb) 

    Fig 13: Locating Rear Disc Brake Assembly Bolts
    G07670559Courtesy of SUBARU OF AMERICA, INC.
  17. Install the rear brake hose bracket to the rear housing.

    Tightening torque: 

    33 N.m (3.4 kgf-m, 24.3 ft-lb) 

    Fig 14: Locating Rear Brake Hose Bracket From Rear Housing
    G07670560Courtesy of SUBARU OF AMERICA, INC.
  18. Attach the rear ABS wheel speed sensor to the rear housing.

    Tightening torque: 

    7.5 N.m (0.8 kgf-m, 5.5 ft-lb) 

    Fig 15: Locating Rear ABS Wheel Speed Sensor From Rear Housing
    G07670561Courtesy of SUBARU OF AMERICA, INC.
  19. Install the rear wheels.

    Tightening torque: 

    100 N.m (10.2 kgf-m, 73.8 ft-lb) 

  20. Connect the quick connector of fuel delivery tube (A) and fuel return tube (B). < Ref. to INSTALLATION , Fuel Delivery, Return and Evaporation Lines. >
    NOTE: When connecting, be careful not to reverse the delivery side and return side.
    Fig 16: Identifying Quick Connector Of Fuel Delivery Tube And Fuel Return Tube
    G07670562Courtesy of SUBARU OF AMERICA, INC.
  21. Install the service hole cover of fuel sub level sensor.
    Fig 17: Locating Service Hole Cover Of Fuel Sub Level Sensor And Screws
    G07670563Courtesy of SUBARU OF AMERICA, INC.
  22. Attach the service hole cover of the fuel pump, and attach the connector and clip.
    Fig 18: Identifying Service Hole Cover Of Fuel Pump Connector, Screw And Clip
    G07670564Courtesy of SUBARU OF AMERICA, INC.
  23. Install the rear seat cushion. < Ref. to INSTALLATION , Rear Seat. >
  24. Connect the battery ground terminal.
    Fig 19: Connecting Battery Ground Terminal
    G07670565Courtesy of SUBARU OF AMERICA, INC.
  25. Inspect the wheel alignment and adjust if necessary.
  26. Perform reinitialization of the auto headlight beam leveler system, (model with auto headlight beam leveler) < Ref. to PROCEDURE , Auto Headlight Beam Leveler System. >