lemon-mirror:
Home >> Subaru >> 2012 >> Forester X, Automatic Trans >> Repair and Diagnosis >> Engine Performance >> Engine Control Systems >> Fuel Injection System - Fuel Injection (H4DOTC) >> Manifold Absolute Pressure Sensor >> Inspection

Manifold Absolute Pressure Sensor: Inspection

  1. Check that the manifold absolute pressure sensor has no deformation, cracks or other damages.
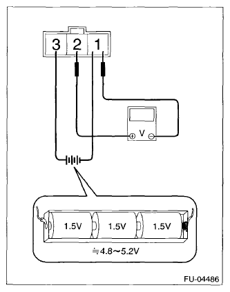
  2. Connect dry-cell battery positive terminal to terminal No. 3 and dry-cell battery ground terminal to terminal No. 1, circuit tester positive terminal to terminal No. 2 and the circuit tester negative terminal to terminal No. 1.
    NOTE:
    • Use new dry-cell batteries.
    • Using circuit tester, check the voltage of a single dry-cell battery is 1.6 V or more. And also check the voltage of three batteries in series is between 4.8 V and 5.2 V.
      Fig 1: Checking Voltage Between Manifold Absolute Pressure Sensor Terminals
      G07670467Courtesy of SUBARU OF AMERICA, INC.
  3. Check the voltage at a normal atmospheric pressure.
    NOTE: The atmospheric pressure at higher altitude is lower than normal. Therefore, the voltage is lower than the standard value.
    VOLTAGE REFERENCE CHART

    Terminal No. Standard
    2 (+) and 1 (-) Approx. 2.2 V (when 25°C (77°F))
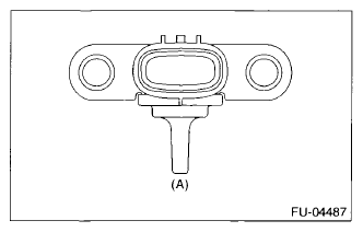
  4. Connect the Mighty Vac to the pressure port (A) of manifold absolute pressure sensor.
    Fig 2: Identifying Pressure Port Of Manifold Absolute Pressure Sensor
    G07670468Courtesy of SUBARU OF AMERICA, INC.
  5. Check the voltage when generating vacuum and positive pressure using Mighty Vac.
    CAUTION: Do not apply vacuum of less than -88 - 200 kPa (-0.9 - 2.04 kgf/cm2 , -12.8 - 29.0 psi). Doing so may damage the manifold absolute pressure sensor.
    NOTE: When vacuum occurs at the pressure port of manifold absolute pressure sensor, the voltage will drop from the value as in step  3). When positive pressure occurs, on the other hand, the voltage will rise.
PRESSURE SENSOR VOLTAGE REFERENCE CHART

Pressure Terminal No. Standard
-88 kPa (-0.9 kgf/cm2 , -12.8 psi) 2 (+) and 1 (-) Approx. 1.0 V (when 25°C (77°F))
152 kPa (1.55 kgf/cm2 , 22.0 psi) Approx. 4.5 V (when 25°C (77°F))