lemon-mirror:
Home >> Subaru >> 2012 >> Forester X, Automatic Trans >> Repair and Diagnosis >> Steering >> Power Steering >> Power Steering System >> Pipe Assembly >> Removal

Pipe Assembly: Removal

  1. Disconnect the ground cable from battery.
  2. Lift up the vehicle, and then remove the under cover. Refer to FRONT UNDER COVER
  3. Remove the front crossmember support plate and jack-up plate.
    • Large type
      Fig 1: Front Crossmember Support Plate (Large Type)
      G07671318Courtesy of SUBARU OF AMERICA, INC.
    • Small type
      Fig 2: Front Crossmember Support Plate And Jack-Up Plate (Small Type)
      G07671319Courtesy of SUBARU OF AMERICA, INC.
  4. Remove the one pipe joint at the center of the gearbox, and connect the vinyl hose to the pipe and the joint. Discharge the fluid by turning the steering wheel fully clockwise and counterclockwise. Discharge the fluid similarly from other pipes.
    Fig 3: Locating Gear Box Pipe Joint
    G07671320Courtesy of SUBARU OF AMERICA, INC.
  5. Remove the clamp E from return hose and pressure hose.
    Fig 4: Clamp E, Return Hose And Pressure Hose
    G07671321Courtesy of SUBARU OF AMERICA, INC.
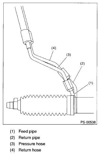
  6. Disconnect the return hose from return pipe and disconnect the pressure hose from feed pipe.
    Fig 5: Return Hose, Return Pipe, Pressure Hose And Feed Pipe
    G07671322Courtesy of SUBARU OF AMERICA, INC.
  7. Remove the air intake duct.
    • Non-turbo model: < Ref. to REMOVAL , Air Intake Duct. >
    • Turbo model: < Ref. to REMOVAL , Air Intake Duct. >
  8. Disconnect the suction hose and pressure hose from oil pump.
    • Non-turbo model
      Fig 6: Suction Hose And Pressure Hose (Non-Turbo Model)
      G07671323Courtesy of SUBARU OF AMERICA, INC.
    • Turbo model
      Fig 7: Suction Hose And Pressure Hose (Turbo Model)
      G07671324Courtesy of SUBARU OF AMERICA, INC.
  9. Disconnect the suction hose and return hose from the reservoir tank.
    Fig 8: Suction Hose, Return Hose And Reservoir Tank
    G07671325Courtesy of SUBARU OF AMERICA, INC.
  10. Remove the hose bracket and take out the hose assembly from vehicle.
    Fig 9: Hose Bracket And Hose Assembly
    G07671326Courtesy of SUBARU OF AMERICA, INC.