Fuel System: General
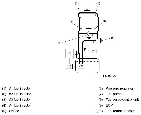
- The fuel pressurized by the fuel tank inside pump is delivered to each fuel injector by way of the fuel pipe and fuel filter. Fuel injection pressure is regulated to an optimum level by the pressure regulator.
- Each injector injects fuel into the intake port of the corresponding cylinder where the fuel is mixed with air. The mixture then enters the cylinder. Fuel injection amount and timing are regulated by the ECM.
- On some models, the fuel bypass return passage connected between the fuel pump and engine prevents excessive fuel to be supplied to the engine and lowers the fuel temperature after return, to reduce the generation of evaporative gas.
Courtesy of SUBARU OF AMERICA, INC.