lemon-mirror:
Home >> Subaru >> 2012 >> Impreza WRX STi Limited >> Repair and Diagnosis >> Engine Performance >> Engine Control Systems >> Fuel Injection System (WRX-STI) >> Main Relay >> Inspection

Main Relay: Inspection

  1. Check that the main relay has no deformation, cracks or other damages.
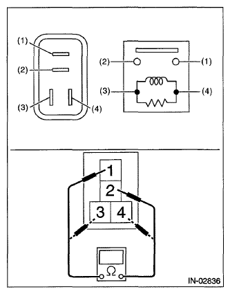
  2. Measure the resistance between main relay terminals.
    Fig 1: Measuring Resistance Between Main Relay Terminals
    G07704528Courtesy of SUBARU OF AMERICA, INC.
    TEMPERATURE RESISTANCE REFERENCE CHART

    Terminal No. Standard
    1 and 2 1 MΩ or more
    3 and 4 130.4 - 230.8 Ω (when 20°C (68°F))
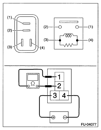
  3. Connect battery positive terminal to terminal No. 3 and battery ground terminal to terminal No. 4, and measure the resistance between the main relay terminals.
    Fig 2: Measuring Resistance Between Main Relay Terminals
    G07704529Courtesy of SUBARU OF AMERICA, INC.
    CONNECTOR TERMINALS REFERENCE CHART

    Terminal No. Standard
    1 and 2 Less than 1 Ω