lemon-mirror:
Home >> Subaru >> 2012 >> Legacy GT Limited >> Repair and Diagnosis >> Engine Performance >> Engine Control Systems >> Fuel Injection Fuel Systems (H4DOTC) >> Intake Manifold >> Installation

Intake Manifold: Installation

  1. Install the intake manifold onto cylinder heads.
    NOTE: Use a new gasket.

    Tightening torque: 

    25 N.m (2.5 kgf-m, 18.4 ft-lb) 

    Fig 1: Locating Cylinder Head, Intake Manifold And Mounting Bolts
    G00525069Courtesy of SUBARU OF AMERICA, INC.
  2. Connect the fuel delivery hose, fuel return hose, and evaporation hose.
    NOTE: If fuel hoses or clamps are damaged, replace them with new parts.
    Fig 2: Identifying Fuel Delivery Hose, Fuel Return Hose And Evaporation Hose
    G07910671Courtesy of SUBARU OF AMERICA, INC.
  3. Connect the connector (A) from oil level switch.
  4. Connect the connector (B) to ignition coil, and secure the engine harness or oil level switch harness to the rocker cover with clips (C) and bolt (D).

    Tightening torque: 

    6.4 N.m (0.7 kgf-m, 4.7 ft-lb) 

    Fig 3: Identifying Oil Level Switch Connector With Clips And Bolt
    G06648758Courtesy of SUBARU OF AMERICA, INC.
  5. Connect the connector to the intake oil flow control solenoid valve.
    Fig 4: Locating Intake Oil Flow Control Solenoid Valve Connectors
    G00525068Courtesy of SUBARU OF AMERICA, INC.
  6. Connect the connector to the intake camshaft position sensor.
    Fig 5: Locating Intake Camshaft Position Sensor Connector
    G06648756Courtesy of SUBARU OF AMERICA, INC.
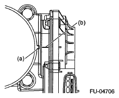
  7. Connect the connector to the knock sensor.
    Fig 6: Locating Knock Sensor Connector
    G06648755Courtesy of SUBARU OF AMERICA, INC.
  8. Secure the generator cord to the intake manifold protector LH with a clip.
    Fig 7: Locating Generator Cord
    G06648754Courtesy of SUBARU OF AMERICA, INC.
  9. Connect the connectors to front oxygen (A/F) sensor (A) and rear oxygen sensor (B).
    Fig 8: Identifying Front Oxygen (A/F) Sensor And Rear Oxygen Sensor Connectors
    G06648753Courtesy of SUBARU OF AMERICA, INC.
  10. Connect the connector to the engine coolant temperature sensor (A), oil pressure switch (B) and crankshaft position sensor (C).
    Fig 9: Identifying Engine Coolant Temperature Sensor, Oil Pressure Switch And Crankshaft Position Sensor
    G06648265Courtesy of SUBARU OF AMERICA, INC.
  11. Install the engine harness connector to the engine rear hanger.
    Fig 10: Locating Engine Harness Connector
    G06648751Courtesy of SUBARU OF AMERICA, INC.
  12. Connect the bulkhead harness connector to the engine harness connector (black), and install the bolt securing the bulkhead harness connector bracket.

    Tightening torque: 

    6.4 N.m (0.7 kgf-m, 4.7 ft-lb) 

    Fig 11: Locating Bulkhead Harness Connector Bracket And Mounting Bolt
    G06648750Courtesy of SUBARU OF AMERICA, INC.
  13. Connect the bulkhead harness connector to the engine harness connector (brown).
    Fig 12: Locating Bulkhead Harness Connector Bracket
    G06648749Courtesy of SUBARU OF AMERICA, INC.
  14. Install the nuts securing the PCV pipe to the intake manifold protector RH, and connect the vacuum hose (A) and vacuum control hose (B) to the PCV pipe.

    Tightening torque: 

    6.4 N.m (0.7 kgf-m, 4.7 ft-lb) 

    Fig 13: Locating Intake Manifold Protector PCV Pipe Mounting Nuts
    G06648748Courtesy of SUBARU OF AMERICA, INC.
  15. Install the blow-by pipe to the PCV pipe, and connect vacuum hose to the blow-by pipe.

    Tightening torque: 

    6.4 N.m (0.7 kgf-m, 4.7 ft-lb) 

    Fig 14: Locating Intake Manifold Protector RH Nuts
    G06648747Courtesy of SUBARU OF AMERICA, INC.
  16. Connect the vacuum hose to PCV valve.
    Fig 15: Locating PCV Valve Vacuum Hose
    G07910689Courtesy of SUBARU OF AMERICA, INC.
  17. Connect the preheater hose to the throttle body, and connect the connector to the throttle position sensor.
    Fig 16: Locating Preheater Hose And Throttle Position Sensor Connector
    G00525067Courtesy of SUBARU OF AMERICA, INC.
  18. Install the intake duct to the throttle body, and install the bolts which secure the engine harness and PCV pipe to the intake manifold.
    NOTE: When installing the intake duct to the throttle body, align the protrusion (a) on the intake duct to the installation position mark (b) on the throttle body to install.
    Fig 17: Identifying Intake Duct Installation Position Mark
    G06648734Courtesy of SUBARU OF AMERICA, INC.

    Tightening torque: 

    T1: 3 N.m (0.3 kgf-m, 2.2 ft-lb) 

    T2: 6.4 N.m (0.7 kgf-m, 4.7 ft-lb) 

    Fig 18: Engine Harness And PCV Pipe Mounting Bolts With Torque Specifications
    G06648736Courtesy of SUBARU OF AMERICA, INC.
  19. Install the bolts which secure the engine harness and PCV pipe to the intake manifold, and install the brake booster vacuum hose to the clip (A).

    Tightening torque: 

    6.4 N.m (0.7 kgf-m, 4.7 ft-lb) 

    Fig 19: Identifying Engine Harness And PCV Pipe Bolts
    G00525070Courtesy of SUBARU OF AMERICA, INC.
  20. Connect the brake booster vacuum hose.
    Fig 20: Locating Brake Booster Vacuum Hose
    G06648745Courtesy of SUBARU OF AMERICA, INC.
  21. Install the A/C pressure hoses to A/C compressor. Refer to INSTALLATION .
  22. Install the intercooler. Refer to INTERCOOLER .
  23. Install the air intake duct. Refer to AIR INTAKE DUCT .
  24. Lift up the vehicle.
  25. Connect the connectors to the wastegate control solenoid valve, and secure the engine harness with clip (A).
    Fig 21: Identifying Engine Harness Clip
    G06648741Courtesy of SUBARU OF AMERICA, INC.
  26. Connect the connectors to exhaust oil flow control solenoid valve (A) and exhaust camshaft position sensor (B).
    Fig 22: Identifying Exhaust Oil Flow Control Solenoid Valve And Exhaust Camshaft Position Sensor
    G06648740Courtesy of SUBARU OF AMERICA, INC.
  27. Install the under cover. Refer to FRONT UNDER COVER .
  28. Lower the vehicle.
  29. Connect the battery ground terminal.
    Fig 23: Connecting Battery Ground Terminal
    G07910692Courtesy of SUBARU OF AMERICA, INC.
  30. Fill engine coolant. Refer to ENGINE COOLANT .
  31. Charge the A/C system with refrigerant. Refer to PROCEDURE .
  32. Install the collector cover.