lemon-mirror:
Home >> Subaru >> 2012 >> Outback Base, Standard Trans >> Repair and Diagnosis >> Drivelines & Axles >> Axle Shafts >> Drivetrain System >> Rear Axle >> Installation

Rear Axle: Installation

  1. Temporarily tighten the rear axle housing to the upper arm.
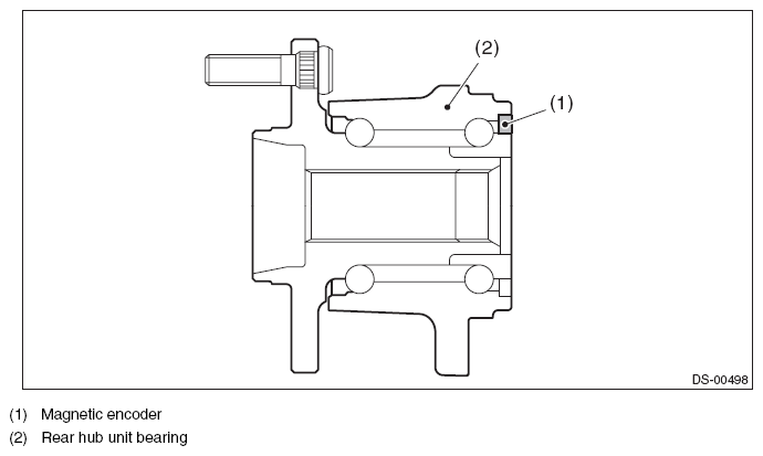
  2. Aligning with the mounting hole of the rear brake back plate, temporarily tighten the rear hub unit bearing to the rear axle housing.
    CAUTION:
    • Be careful not to damage the magnetic encoder.
    • Do not get closer the tool which charged magnetism to magnetic encoder.
    Fig 1: Identifying Rear Hub Unit Bearing And Magnetic Encoder
    G07914124Courtesy of SUBARU OF AMERICA, INC.
    Fig 2: Removing Rear Hub Unit Bearing
    G05032629Courtesy of SUBARU OF AMERICA, INC.
  3. Attach the rear drive shaft to the rear hub unit bearing.
  4. Tighten the new axle nut temporarily.
    CAUTION: Use new axle nuts.
  5. Attach the links to the rear axle housing and tighten them to the specified torque.

    Tightening torque: 

    Upper arm: 80 N.m (8.2 kgf-m, 59 ft-lb) 

    Front lateral link: 60 N.m (6.1 kgf-m, 44.3 ft-lb) 

    Rear lateral link: 80 N.m (8.2 kgf-m, 59 ft-lb) 

    Trailing link: 80 N.m (8.2 kgf-m, 59 ft-lb) 

  6. Tighten the rear hub unit bearing.
    Fig 3: Locating Rear Axle Housing Bolts
    G07914119Courtesy of SUBARU OF AMERICA, INC.

    Tightening torque: 

    65 N.m (6.63 kgf-m, 47.9 ft-lb) 

  7. Install the rear disc rotor.
  8. Install the rear disc brake.

    Tightening torque: 

    66 N.m (6.73 kgf-m, 48.7 ft-lb) 

  9. Install the brake hose bracket and rear ABS wheel speed sensor.

    Tightening torque: 

    Brake hose bracket: 33 N.m (3.36 kgf-m, 24.3 ft-lb) 

    Rear ABS wheel speed sensor: 7.5 N.m (0.76 kgf-m, 5.5 ft-lb) 

  10. While pressing the brake pedal, tighten the new axle nuts to the specified torque.
    CAUTION: Do not load the rear axle before tightening the axle nut. Doing so may damage the hub bearing.

    Tightening torque: 

    240 N.m (24.47 kgf-m, 177 ft-lb) 

  11. Inspect the lean of axis direction using a dial gauge. Replace the bearing if the load range exceeds the limitation.
    Fig 4: Inspecting Lean Of Axis Direction Using Dial Gauge
    G07914127Courtesy of SUBARU OF AMERICA, INC.

    Service limit: 

    Maximum: 0.05 mm (0.0020 in) 

  12. After tightening the axle nut, lock it securely.
    Fig 5: Locking Axle Nut
    G05032598Courtesy of SUBARU OF AMERICA, INC.
  13. Install the rear wheels.

    Tightening torque: 

    120 N.m (12.24 kgf-m, 88.5 ft-lb) 

  14. Moving the rear tire up and down by hand, check there is no backlash in bearing, and check the wheel rotates smoothly.
    CAUTION: If there is any fault in the bearing, replace hub unit bearing.
    Fig 6: Moving Rear Tire Up And Down
    G05032637Courtesy of SUBARU OF AMERICA, INC.
  15. Inspect the wheel alignment and adjust if necessary.