lemon-mirror:
Home >> Subaru >> 2012 >> Outback Base, Standard Trans >> Repair and Diagnosis >> Steering >> Power Steering >> Power Assisted System Power Steering >> Oil Pump >> Installation

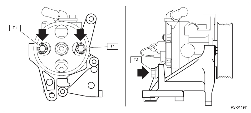
Oil Pump: Installation

  1. Install the bracket to the power steering oil pump.
    Fig 1: Locating Power Steering Oil Pump Bolts
    G07914375Courtesy of SUBARU OF AMERICA, INC.

    Tightening torque: 

    T1: 16 N.m (1.63 kgf-m, 11.8 ft-lb) 

    T2: 36 N.m (3.67 kgf-m, 26.6 ft-lb) 

  2. Install the power steering pump bracket.

    Tightening torque: 

    22 N.m (2.24 kgf-m, 16.2 ft-lb) 

  3. Connect the pressure hose (b) and suction hose (a).
    CAUTION: Be careful when installing; If the hose is twisted it may come into contact with other parts.
    Fig 2: Identifying Pressure And Suction Hoses
    G07914372Courtesy of SUBARU OF AMERICA, INC.

    Tightening torque: 

    Eye bolt: 40 N.m (4.08 kgf-m, 29.5 ft-lb) 

  4. Connect the power steering pump switch to the connector.
  5. After installing the oil pump, fill the oil pump with fluid while rotating the pulley by hand and bleed the air from the oil pump.
    CAUTION: Always fill the oil pump with the fluid to prevent abnormal noise and seizure of the oil pump.
  6. Install the V-belts. Refer to V-BELT .
  7. Connect the battery ground terminal.
  8. Fill with recommended power steering fluid and perform air bleeding. Refer to , POWER STEERING FLUID .
    CAUTION: Never start the engine before filling with fluid; otherwise the vane pump may become seized.