lemon-mirror:
Home >> Subaru >> 2012 >> Outback Base, Standard Trans >> Repair and Diagnosis >> Suspension >> Wheel Alignment >> Rear Suspension >> Rear Stabilizer >> Installation

Rear Stabilizer: Installation

CAUTION:
  • Be sure to use a new flange nut and self-locking nut.
  • Always tighten the bushing in the state where the vehicle is at curb weight and the wheels are in full contact with the ground.
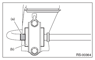
  • When installing the stabilizer with paint mark (a), align the end of paint mark to the end of bushing (b).
    Fig 1: Identifying Paint Mark And Stabilizer Bushing
    G07914010Courtesy of SUBARU OF AMERICA, INC.
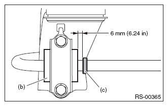
  • When installing the stabilizer without paint mark, install it so that there is 6 mm (6.24 in) space between the Anti-Walk Ring (c) and the stabilizer bushing (b).
Fig 2: Identifying Space Between Anti-Walk Ring And Stabilizer Bushing
G07914011Courtesy of SUBARU OF AMERICA, INC.
  1. Before installation, inspect the following items and replace any faulty part with a new one.
    • Check the bushing for abnormal cracks, fatigue or damage.
    • Check the stabilizer link for damage.
  2. Install each part in the reverse order of removal.

    Tightening torque: 

    Stabilizer link: 33 N.m (3.36 kgf-m, 24.3 ft-lb) 

    Stabilizer clamp: 38 N.m (3.87 kgf-m, 28.0 ft-lb)