lemon-mirror:
Home >> Subaru >> 2013 >> Forester X, Automatic Trans >> Repair and Diagnosis >> Engine Performance >> Engine Control Systems >> Fuel Injection System (H4DO) >> Fuel Filler Pipe >> Installation

Fuel Filler Pipe: Installation

  1. Open the fuel filler lid.
  2. Attach the fuel filler pipe gasket to the fuel filler pipe assembly, and insert the fuel filler pipe assembly from inside of the rear fender.
  3. Install the fuel filler ring to the fuel filler pipe assembly.
    NOTE: If the edges of rubber gasket are folded toward inside, straighten it with a flat tip screwdriver.
    Fig 1: Identifying Fuel Filler Pipe Gasket, Ring, Rubber Gasket And Fuel Saucer
    G08562749Courtesy of SUBARU OF AMERICA, INC.

    Tightening torque: 

    4.4 N.m (0.4 kgf-m, 3.2 ft-lb) 

    Fig 2: Locating Fuel Filler Ring Screws
    G08562746Courtesy of SUBARU OF AMERICA, INC.
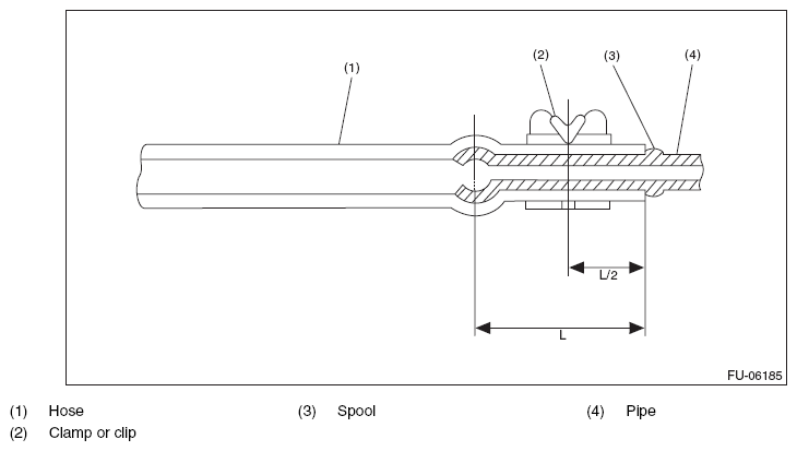
  4. Securely insert the fuel filler hose and air vent hose to the spool, and then install a clamp or clip as shown.

    Tightening torque: 

    2.5 N.m (0.3 kgf-m, 1.8 ft-lb) 

    Fig 3: Locating Fuel Filler And Air Vent Hose Clamp
    G08562748Courtesy of SUBARU OF AMERICA, INC.
    Fig 4: Identifying Hose, Spool, Pipe And Clamp
    G08562752Courtesy of SUBARU OF AMERICA, INC.
  5. Install the fuel filler pipe assembly to vehicle body.

    Tightening torque: 

    7.5 N.m (0.8 kgf-m, 5.5 ft-lb) 

    Fig 5: Locating Fuel Filler Pipe Assembly Mounting Bolts And Nuts
    G08562747Courtesy of SUBARU OF AMERICA, INC.
  6. Install the rear sub frame. < Refer to INSTALLATION , Rear Sub Frame. >
  7. Install the rear mud guard RH. < Refer to INSTALLATION , Mud Guard. >
  8. Lower the vehicle.
  9. Install the rear wheel RH.

    Tightening torque: 

    100 N.m (10.2 kgf-m, 73.8 ft-lb) 

  10. Connect the battery ground terminal.
    Fig 6: Connecting/Disconnecting Battery Ground Terminal
    G08570271Courtesy of SUBARU OF AMERICA, INC.
  11. Inspect the wheel alignment and adjust if necessary.
  12. Perform re-initialization of the auto headlight beam leveler system. (model with auto headlight beam leveler) < Refer to PROCEDURE , Auto Headlight Beam Leveler System. >