lemon-mirror:
Home >> Subaru >> 2013 >> Forester X, Automatic Trans >> Repair and Diagnosis >> Engine Performance >> Engine Control Systems >> Fuel Injection System (H4DO) >> Fuel Pump >> Removal

Fuel Pump: Removal

WARNING: Place "NO OPEN FLAMES" signs near the working area.
CAUTION:
  • Be careful not to spill fuel.
  • If the fuel gauge indicates that two thirds or more of the fuel is remaining, be sure to drain fuel before starting work to avoid the fuel to spill.
NOTE: Fuel pump assembly consists of fuel pump, fuel filter and fuel level sensor.
  1. Release the fuel pressure. < Refer to RELEASING OF FUEL PRESSURE , PROCEDURE, Fuel. >
  2. Drain fuel. < Refer to DRAINING FUEL (WITH SUBARU SELECT MONITOR) , PROCEDURE, Fuel. >
  3. Disconnect the ground cable from battery.
    Fig 1: Connecting/Disconnecting Battery Ground Terminal
    G08570271Courtesy of SUBARU OF AMERICA, INC.
  4. Remove the rear seat cushion. < Refer to REMOVAL , Rear Seat. >
  5. Remove the service hole cover of fuel pump.
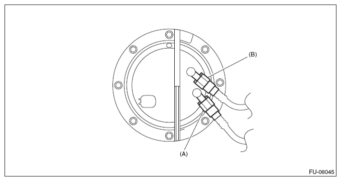
    1. Disconnect fuel pump connector (A), and remove clip (B).
    2. Remove the screw (C).
    3. Push the grommet (D) down and remove the service hole cover.
      Fig 2: Identifying Fuel Pump Connector, Clip, Screw And Grommet
      G08562710Courtesy of SUBARU OF AMERICA, INC.
  6. Disconnect the connector from fuel pump.
    Fig 3: Locating Fuel Pump Connector
    G08562757Courtesy of SUBARU OF AMERICA, INC.
  7. Disconnect the quick connector of fuel delivery tube (A) and jet pump tube (B). < Refer to REMOVAL , Fuel Delivery and Evaporation Lines. >
    Fig 4: Identifying Fuel Delivery And Jet Pump Tube Quick Connector
    G08562758Courtesy of SUBARU OF AMERICA, INC.
  8. Remove the nuts which hold the fuel pump upper plate to the fuel tank.
    Fig 5: Locating Fuel Pump Upper Plate To Fuel Tank Nuts
    G08562759Courtesy of SUBARU OF AMERICA, INC.
  9. Remove the fuel pump assembly from the fuel tank.