lemon-mirror:
Home >> Subaru >> 2013 >> Forester X, Automatic Trans >> Repair and Diagnosis >> Engine Performance >> Engine Control Systems >> Fuel Injection System (H4DO) >> Fuel Tank >> Installation

Fuel Tank: Installation

  1. Support the fuel tank with a transmission jack, set the fuel tank and the fuel tank band in place, and temporarily tighten the bolts of the fuel tank band.
    WARNING: A helper is required to perform this work.
    Fig 1: Locating Fuel Tank Band Bolts
    G08562725Courtesy of SUBARU OF AMERICA, INC.
  2. Connect the quick connector of the evaporation hose to the evaporation pipe.
    CAUTION:
    • Check that there is no damage or dust on the quick connector. If necessary, clean the seal surface of the pipe.
    • When connecting the quick connector, securely insert the pipe all the way before locking the retainer.
    • When it is difficult to lock the retainer, make sure that the pipe is securely inserted.
    • Make sure that the quick connector is securely connected.
      Fig 2: Connecting Quick Connector
      G08562727Courtesy of SUBARU OF AMERICA, INC.
      Fig 3: Locating Quick Connector
      G08562724Courtesy of SUBARU OF AMERICA, INC.
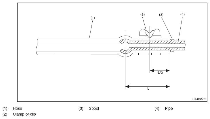
  3. Securely insert the fuel filler hose to the spool, and then install a clamp or clip as shown.

    Tightening torque: 

    2.5 N.m (0.3 kgf-m, 1.8 ft-lb) 

    Fig 4: Locating Fuel Filler Hose Clamp
    G08562722Courtesy of SUBARU OF AMERICA, INC.
    Fig 5: Identifying Hose, Spool, Pipe And Clamp
    G08562730Courtesy of SUBARU OF AMERICA, INC.
  4. Connect the evaporation hose to fuel tank.
    Fig 6: Locating Evaporation Hose Clamp
    G08562721Courtesy of SUBARU OF AMERICA, INC.
  5. Tighten the bolts of the fuel tank band in the order shown in the figure.

    Tightening torque: 

    33 N.m (3.4 kgf-m, 24.3 ft-lb) 

    Fig 7: Locating Fuel Tank Band Bolts Tightening Order
    G08562732Courtesy of SUBARU OF AMERICA, INC.
  6. Install the parking brake cable clamp to the body.

    Tightening torque: 

    18 N.m (1.8 kgf-m, 13.3 ft-lb) 

    Fig 8: Locating Parking Brake Cable Clamp Bolts
    G08562720Courtesy of SUBARU OF AMERICA, INC.
  7. Install the rear suspension assembly.
    WARNING: A helper is required to perform this work.
    1. Support the rear suspension assembly with a transmission jack.
    2. Support the rear suspension assembly and install the rear suspension assembly to the body.

      Tightening torque: 

      T1: 70 N.m (7.1 kgf-m, 51.6 ft-lb) 

      T2: 145 N.m (14.8 kgf-m, 106.9 ft-lb) 

      Fig 9: Rear Suspension Assembly Mounting Bolts With Torque Specifications
      G08562734Courtesy of SUBARU OF AMERICA, INC.
    3. Install the rear shock absorber to the rear suspension arm.
      NOTE: Use a new self-locking nut.

      Tightening torque: 

      120 N.m (12.2 kgf-m, 88.5 ft-lb) 

      Fig 10: Locating Self-Locking Nut
      G08562718Courtesy of SUBARU OF AMERICA, INC.
  8. Connect the connector to the rear ABS wheel speed sensor.
    Fig 11: Locating Rear ABS Wheel Speed Sensor Connectors
    G08562717Courtesy of SUBARU OF AMERICA, INC.
  9. Install the heat shield cover.

    Tightening torque: 

    18 N.m (1.8 kgf-m, 13.3 ft-lb) 

  10. Install the fuel tank protector.
    NOTE: Use a new self-locking nut.

    Tightening torque: 

    Nut: 9 N.m (0.9 kgf-m, 6.6 ft-lb) 

    Bolt: 18 N.m (1.8 kgf-m, 13.3 ft-lb) 

    Fig 12: Locating Self-Locking Nuts
    G08562737Courtesy of SUBARU OF AMERICA, INC.
  11. Install the propeller shaft. < Refer to INSTALLATION , Propeller Shaft. >
  12. Install the rear exhaust pipe and muffler. < Refer to INSTALLATION , Rear Exhaust Pipe. > < Refer to INSTALLATION , Muffler. >
  13. Lower the vehicle.
  14. Connect the parking brake cable to the parking brake assembly. < Refer to INSTALLATION , Parking Brake Assembly (Rear Disc Brake). >
  15. Install the rear disc brake assembly.

    Tightening torque: 

    66 N.m (6.7 kgf-m, 48.7 ft-lb) 

    Fig 13: Locating Rear Disc Brake Assembly Mounting Bolts
    G08562738Courtesy of SUBARU OF AMERICA, INC.
  16. Install the rear brake hose bracket to the rear housing.

    Tightening torque: 

    33 N.m (3.4 kgf-m, 24.3 ft-lb) 

    Fig 14: Locating Rear Brake Hose Bracket Mounting Bolt
    G08562714Courtesy of SUBARU OF AMERICA, INC.
  17. Attach the rear ABS wheel speed sensor to the rear housing.
    NOTE: Prevent the harness identification (line) from being twisted when installing. (RH: Aqua line, LH: Brown line)

    Tightening torque: 

    7.5 N.m (0.8 kgf-m, 5.5 ft-lb) 

    Fig 15: Locating Rear ABS Wheel Speed Sensor Mounting Bolt
    G08562713Courtesy of SUBARU OF AMERICA, INC.
  18. Install the rear wheels.

    Tightening torque: 

    100 N.m (10.2 kgf-m, 73.8 ft-lb) 

  19. Connect the quick connector of the fuel delivery tube. < Refer to INSTALLATION , Fuel Delivery and Evaporation Lines. >
    Fig 16: Locating Fuel Delivery Tube Quick Connector
    G08562712Courtesy of SUBARU OF AMERICA, INC.
  20. Install the service hole cover of fuel sub level sensor.
    Fig 17: Locating Fuel Sub Level Sensor Service Hole Cover Screws
    G08562711Courtesy of SUBARU OF AMERICA, INC.
  21. Attach the service hole cover of the fuel pump, and attach the connector and clip.
    Fig 18: Identifying Connector, Screw, Grommet And Clip
    G08562743Courtesy of SUBARU OF AMERICA, INC.
  22. Install the rear seat cushion. < Refer to INSTALLATION , Rear Seat. >
  23. Connect the battery ground terminal.
    Fig 19: Connecting/Disconnecting Battery Ground Terminal
    G08570271Courtesy of SUBARU OF AMERICA, INC.
  24. Inspect the wheel alignment and adjust if necessary.