lemon-mirror:
Home >> Subaru >> 2013 >> Forester X, Automatic Trans >> Repair and Diagnosis >> Transmission >> Automatic Trans >> Transmission Control Systems >> Select Lever >> Installation

Select Lever: Installation

  1. Set the select lever to vehicle body.
  2. Tighten the four bolts to install the select lever to vehicle body, and then connect the connector.
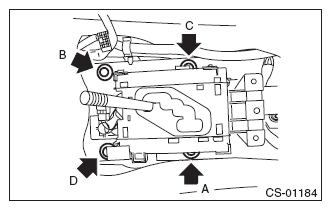
    1. Temporarily tighten the bolt A.
    2. Tighten the bolt B.
    3. Tighten the bolt A.
    4. Tighten the bolts C and D.

    Tightening torque: 

    18 N.m (1.8 kgf-m, 13.3 ft-lb) 

    Fig 1: Locating Select Lever Mounting Bolts
    G08571441Courtesy of SUBARU OF AMERICA, INC.
  3. Install the harness clips to the bracket.
  4. Shift the select lever to "N" range.
  5. Install the blind.
    CAUTION: The blind should be installed so that it is securely caught by tabs of the plate guide COMPL.
    Fig 2: Identifying Blind
    G05661188Courtesy of SUBARU OF AMERICA, INC.
  6. Install the indicator assembly.
  7. Install the console side panel and console front panel. < Refer to INSTALLATION , Center Console. >
  8. Install the console box. < Refer to INSTALLATION , Console Box. >
  9. Install the parking brake lever boot.
  10. Install the grip.
  11. Lift up the vehicle.
  12. Shift the range select lever to "N" range.
  13. Secure the select cable to the bracket. < Refer to INSTALLATION , Select Cable. >
  14. Adjust the select cable position. < Refer to ADJUSTMENT , Select Cable. >
  15. After the completion of adjustment, confirm that the select lever operates properly at all range positions.
  16. Install the heat shield cover. < Refer to INSTALLATION , Heat Shield Cover. >
  17. Install the rear exhaust pipe. (non-turbo model) < Refer to INSTALLATION , Rear Exhaust Pipe. >
  18. Remove the center exhaust pipe (rear). (turbo model) < Refer to INSTALLATION , Center Exhaust Pipe. >
  19. Lower the vehicle.
  20. Connect the battery ground terminal.
  21. Inspect the following items. When a malfunction is found in the inspection, adjust the select cable and inhibitor switch. < Refer to ADJUSTMENT , Select Cable. > < Refer to 4AT-52, ADJUSTMENT, Inhibitor Switch. >
    1. Engine starts when the select lever is in "P" and "N" range, but not in other ranges.
    2. Back-up light illuminates when the select lever is in the "R" range, but not in other ranges.
    3. Select lever and indicator positions are matched.