lemon-mirror:
Home >> Subaru >> 2013 >> Forester XT Touring >> Repair and Diagnosis >> Engine Performance >> Engine Control Systems >> Fuel Injection System (H4DOTC) >> Fuel Level Sensor >> Removal

Fuel Level Sensor: Removal

WARNING: Place "NO OPEN FLAMES" signs near the working area.
CAUTION:
  • Be careful not to spill fuel.
  • If the fuel gauge indicates that two thirds or more of the fuel is remaining, be sure to drain fuel before starting work to avoid the fuel to spill.
NOTE: The fuel level sensor is built in fuel pump assembly.
  1. Remove the fuel pump assembly. < Refer to REMOVAL , Fuel Pump. >
  2. Disconnect the connector from the sub tank bracket assembly.
    Fig 1: Locating Sub Tank Bracket Assembly Connector
    G08538909Courtesy of SUBARU OF AMERICA, INC.
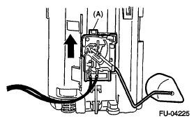
  3. Slide the fuel level sensor in the direction of the arrow and remove the fuel level sensor by pressing the claw (A) of the fuel level sensor.
    Fig 2: Sliding Fuel Level Sensor
    G06344817Courtesy of SUBARU OF AMERICA, INC.