lemon-mirror:
Home >> Subaru >> 2013 >> Forester XT Touring >> Repair and Diagnosis >> Engine Performance >> Engine Control Systems >> Fuel Injection System (H4DOTC) >> Fuel Tank >> Installation

Fuel Tank: Installation

  1. Support the fuel tank with a transmission jack, set the fuel tank and the fuel tank band in place, and temporarily tighten the bolts of the fuel tank band.
    WARNING: A helper is required to perform this work.
    Fig 1: Locating Fuel Tank Mounting Bolts
    G08538871Courtesy of SUBARU OF AMERICA, INC.
  2. Securely insert the fuel filler hose (A) and evaporation hose (B) until the hose end contacts the spool, then attach the clamp or clip as shown in the figure.

    Tightening torque: 

    2.5 N.m (0.3 kgf-m, 1.8 ft-lb) 

    Fig 2: Identifying Fuel Filler Hose And Evaporation Hose
    G08538870Courtesy of SUBARU OF AMERICA, INC.
    Fig 3: Identifying Hose, Clamp Or Clip, Spool And Pipe
    G08570861Courtesy of SUBARU OF AMERICA, INC.
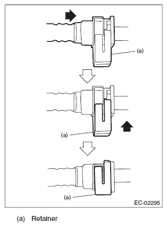
  3. Connect the quick connector of the evaporation hose to the evaporation pipe.
    CAUTION:
    • Check that there is no damage or dust on the quick connector. If necessary, clean the seal surface of the pipe.
    • When connecting the quick connector, securely insert the pipe all the way before locking the retainer.
    • When it is difficult to lock the retainer, make sure that the pipe is securely inserted.
    • Make sure that the quick connector is securely connected.
    Fig 4: Connecting Evaporation Hose Quick Connector To Evaporation Pipe
    G08570862Courtesy of SUBARU OF AMERICA, INC.
    Fig 5: Locating Evaporation Hose Quick Connector
    G08538869Courtesy of SUBARU OF AMERICA, INC.
  4. Connect evaporation hose (B) to connector (A).
    Fig 6: Identifying Evaporation Hose And Connector
    G08538867Courtesy of SUBARU OF AMERICA, INC.
  5. Tighten the bolts of the fuel tank band in the order shown in the figure.

    Tightening torque: 

    33 N.m (3.4 kgf-m, 24.3 ft-lb) 

    Fig 7: Identifying Fuel Tank Band Bolts Tightening Sequence
    G05954897Courtesy of SUBARU OF AMERICA, INC.
  6. Install the rear suspension assembly.
    WARNING: A helper is required to perform this work.
    1. Support the rear differential with the transmission jack.
    2. Support the rear suspension assembly and install the rear suspension assembly to the body.

      Tightening torque: 

      T1: 70 N.m (7.1 kgf-m, 51.6 ft-lb) 

      T2: 145 N.m (14.8 kgf-m, 106.9 ft-lb) 

      Fig 8: Rear Suspension Assembly Mounting Bolts With Torque Specifications
      G08539975Courtesy of SUBARU OF AMERICA, INC.
    3. Install the rear shock absorber to the rear suspension arm.
    NOTE: Use a new self-locking nut.

    Tightening torque: 

    120 N.m (12.2 kgf-m, 88.5 ft-lb) 

    Fig 9: Locating Rear Shock Absorber Mounting Nut
    G05659511Courtesy of SUBARU OF AMERICA, INC.
  7. Install the rear vehicle height sensor and connect the connector (A) to the rear vehicle height sensor. (model with auto headlight beam leveler, left side only)

    Tightening torque: 

    7.5 N.m (0.8 kgf-m, 5.5 ft-lb) 

    Fig 10: Locating Rear Vehicle Height Sensor Mounting Nut
    G08570851Courtesy of SUBARU OF AMERICA, INC.
  8. Install the parking brake cable clamp to the body.

    Tightening torque: 

    18 N.m (1.8 kgf-m, 13.3 ft-lb) 

    Fig 11: Locating Parking Brake Cable Clamp Mounting Bolts
    G05659509Courtesy of SUBARU OF AMERICA, INC.
  9. Connect the connector to the rear ABS wheel speed sensor.
    NOTE: Prevent the harness identification (line) from being twisted when installing. (RH: Aqua line, LH: Brown line)
    Fig 12: Locating Rear ABS Wheel Speed Sensor Connector
    G05659508Courtesy of SUBARU OF AMERICA, INC.
  10. Install the heat shield cover.

    Tightening torque: 

    18 N.m (1.8 kgf-m, 13.3 ft-lb) 

  11. Install the fuel tank protector.
    NOTE: Use a new self-locking nut.

    Tightening torque: 

    Nut: 9 N.m (0.9 kgf-m, 6.6 ft-lb) 

    Bolt: 18 N.m (1.8 kgf-m, 13.3 ft-lb) 

  12. Install the propeller shaft. < Refer to INSTALLATION , Propeller Shaft. >
  13. Install the rear exhaust pipe and muffler. < Refer to INSTALLATION , Rear Exhaust Pipe. > < Refer to INSTALLATION , Muffler. >
  14. Lower the vehicle.
  15. Connect the parking brake cable to the parking brake assembly. < Refer to INSTALLATION , Parking Brake Assembly (Rear Disc Brake). >
  16. Install the rear disc brake assembly.

    Tightening torque: 

    66 N.m (6.7 kgf-m, 48.7 ft-lb) 

    Fig 13: Locating Rear Disc Brake Assembly Bolts
    G08539979Courtesy of SUBARU OF AMERICA, INC.
  17. Install the rear brake hose bracket to the rear housing.

    Tightening torque: 

    33 N.m (3.4 kgf-m, 24.3 ft-lb) 

    Fig 14: Locating Rear Brake Hose Bracket Bolt
    G06344765Courtesy of SUBARU OF AMERICA, INC.
  18. Attach the rear ABS wheel speed sensor to the rear housing.
    NOTE: Prevent the harness identification (line) from being twisted when installing. (RH: Aqua line, LH: Brown line)

    Tightening torque: 

    7.5 N.m (0.8 kgf-m, 5.5 ft-lb) 

    Fig 15: Locating Rear ABS Wheel Speed Sensor Bolt
    G05659505Courtesy of SUBARU OF AMERICA, INC.
  19. Install the rear wheels.

    Tightening torque: 

    100 N.m (10.2 kgf-m, 73.8 ft-lb) 

  20. Connect the quick connector of fuel delivery tube (A) and fuel return tube (B). < Refer to INSTALLATION , Fuel Delivery, Return and Evaporation Lines. >
    NOTE: When connecting, be careful not to reverse the delivery side and return side.
    Fig 16: Identifying Fuel Delivery Tube And Fuel Return Tube Quick Connector
    G08538858Courtesy of SUBARU OF AMERICA, INC.
  21. Install the service hole cover of fuel sub level sensor.
    Fig 17: Locating Service Hole Cover Mounting Screws
    G08538857Courtesy of SUBARU OF AMERICA, INC.
  22. Attach the service hole cover of the fuel pump, and attach the connector and clip.
    Fig 18: Identifying Fuel Pump Connector, Clip, Screw And Grommet
    G08570876Courtesy of SUBARU OF AMERICA, INC.
  23. Install the rear seat cushion. < Refer to INSTALLATION , Rear Seat. >
  24. Connect the battery ground terminal.
    Fig 19: Disconnecting/Connecting Battery Ground Cable
    G06336085Courtesy of SUBARU OF AMERICA, INC.
  25. Inspect the wheel alignment and adjust if necessary.
  26. Perform reinitialization of the auto headlight beam leveler system. (model with auto headlight beam leveler) < Refer to PROCEDURE , Auto Headlight Beam Leveler System. >