lemon-mirror:
Home >> Subaru >> 2014 >> Impreza WRX STI Limited >> Repair and Diagnosis >> Engine Performance >> Engine Control Systems >> Fuel Injection System (STI) >> General Description >> Components With Torque Specifications >> Air Intake System

Air Intake System

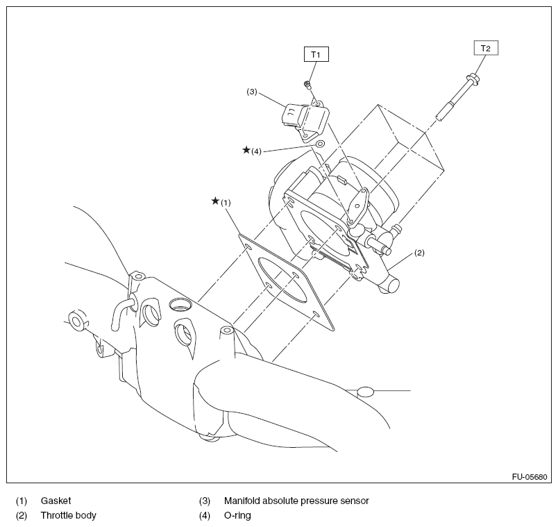
Fig 1: Manifold Absolute Pressure Sensor, Gasket, Throttle Body And O-Ring With Torque Specifications
G08538614Courtesy of SUBARU OF AMERICA, INC.

Tightening torque: N.m (kgf-m, ft-lb) 

T1: 2 (0.2, 1.5) 

T2: 8 (0.8, 5.9)