lemon-mirror:
Home >> Subaru >> 2014 >> Tribeca >> Repair and Diagnosis >> Electrical >> Charging Systems >> Starting System & Charging System >> Generator >> Disassembly

Starting System & Charging System: Generator: Disassembly

  1. Remove the four through bolts.
    Fig 1: Locating Generator Bolts
    G07910081Courtesy of SUBARU OF AMERICA, INC.
  2. Use a drier to heat the rear cover (A) portion to 50 - 60°C (122 - 140°F).
    Fig 2: Heating Rear Cover Using Drier
    G06648693Courtesy of SUBARU OF AMERICA, INC.
  3. Insert the end of a flat tip screwdriver into the gap between stator core and front cover. Pry them apart to disassemble.
    Fig 3: Inserting End Of Flat Tip Screwdriver Into Gap Between Stator Core And Front Cover
    G08544571Courtesy of SUBARU OF AMERICA, INC.
  4. Using a vise, support the rotor and remove the pulley nut, then remove the rotor from the front cover.
    CAUTION: When holding the rotor with a vise, place aluminum plates or wooden pieces on the vise jaws to prevent rotor from damage.
    Fig 4: Removing Rotor From Front Cover Using Vise
    G07910084Courtesy of SUBARU OF AMERICA, INC.
    Fig 5: Identifying Front Cover, Pulley, Pulley Nut And Rotor
    G08544573Courtesy of SUBARU OF AMERICA, INC.
  5. Use the following procedures to remove the ball bearings.
    1. Remove the bolt, and then detach the bearing retainer.
      Fig 6: Removing Ball Bearings
      G07910086Courtesy of SUBARU OF AMERICA, INC.
    2. Firmly attach an appropriate tool (such as a correct size socket wrench) to the bearing inner race.
      Fig 7: Identifying Bearing Inner Race
      G07910087Courtesy of SUBARU OF AMERICA, INC.
    3. Use the press to push the ball bearings out from the front cover.
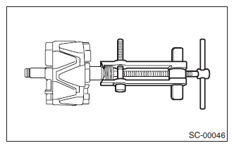
  6. Using the bearing puller, remove the bearings from the rotor.
    Fig 8: Removing Bearings From Rotor Using Bearing Puller
    G07910088Courtesy of SUBARU OF AMERICA, INC.
  7. Remove six bolts between the rectifier and stator coil, then remove the stator coil.
    Fig 9: Locating Rectifier And Stator Coil Bolts
    G06648700Courtesy of SUBARU OF AMERICA, INC.
  8. Remove four screws which secure the IC regulator to the rear cover, then remove the IC regulator.
    Fig 10: Locating IC Regulator To Rear Cover Screws
    G06648701Courtesy of SUBARU OF AMERICA, INC.
  9. Use the following procedures to remove the brush.
    1. Remove the cover A.
      Fig 11: Identifying Brush Cover A
      G08544579Courtesy of SUBARU OF AMERICA, INC.
    2. Remove the cover B.
      Fig 12: Identifying Brush Cover B
      G08544580Courtesy of SUBARU OF AMERICA, INC.
    3. Disconnect the connection and remove the brush.
      Fig 13: Disconnecting Connection
      G06648704Courtesy of SUBARU OF AMERICA, INC.
  10. Remove the rectifier as follows.
    1. Remove the cover on terminal B.
      Fig 14: Locating Terminal B Cover
      G06648705Courtesy of SUBARU OF AMERICA, INC.
    2. Remove the nut on terminal B.
      Fig 15: Locating Terminal B Nut
      G06648706Courtesy of SUBARU OF AMERICA, INC.
    3. Remove the bolts which secure the rectifier, and remove the rectifier.
      Fig 16: Removing Rectifier
      G06648707Courtesy of SUBARU OF AMERICA, INC.