lemon-mirror:
Home >> Subaru >> 2014 >> Tribeca >> Repair and Diagnosis >> Steering >> Power Steering >> Power Steering System >> Pipe Assembly >> Removal

Pipe Assembly: Removal

  1. Disconnect the ground cable from battery.
  2. Lift up the vehicle, and then remove the front crossmember support plate and jack-up plate.
    Fig 1: Identifying Front Crossmember Support Plate And Jack-Up Plate
    G08546001Courtesy of SUBARU OF AMERICA, INC.
  3. Remove the one pipe joint at the center of the gearbox, and connect the vinyl hose to the pipe and the joint. Discharge the fluid by turning the steering wheel fully clockwise and counterclockwise. Discharge the fluid similarly from other pipes.
    Fig 2: Locating Gearbox Pipe Joint
    G08546002Courtesy of SUBARU OF AMERICA, INC.
  4. Remove the clamp E from return hose and pressure hose.
    Fig 3: Identifying Return Hose, Pressure Hose And Clamp
    G08546003Courtesy of SUBARU OF AMERICA, INC.
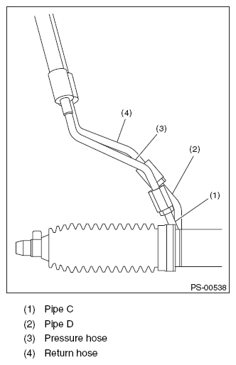
  5. Disconnect the pipe D from return hose and pipe C from pressure hose.
    Fig 4: Identifying Pressure Hose, Return Hose And Pipe
    G08546004Courtesy of SUBARU OF AMERICA, INC.
  6. Remove the air intake duct. < Ref. to REMOVAL , Air Intake Duct. >
  7. Disconnect the suction hose and pressure hose from oil pump.
    Fig 5: Identifying Suction Hose And Pressure Hose
    G08546005Courtesy of SUBARU OF AMERICA, INC.
  8. Disconnect the suction hose and return hose from the reservoir tank.
    Fig 6: Identifying Reservoir Tank, Suction Hose And Return Hose
    G08546006Courtesy of SUBARU OF AMERICA, INC.
  9. Remove the oil cooler pipe.
    Fig 7: Locating Oil Cooler Pipe
    G05032988Courtesy of SUBARU OF AMERICA, INC.
  10. Remove the hose bracket and take out the hose assembly from vehicle.
    Fig 8: Locating Hose Bracket
    G08546008Courtesy of SUBARU OF AMERICA, INC.