lemon-mirror:
Home >> Subaru >> 2015 >> Outback 2.5i Limited >> Repair and Diagnosis >> Engine Performance >> Engine Control Systems >> Fuel Injection System (H4DO) >> Fuel Sub Level Sensor >> Inspection

Fuel Sub Level Sensor: Inspection

  1. Check that the fuel sub level sensor has no damage.
  2. Measure the fuel sub level sensor float position.
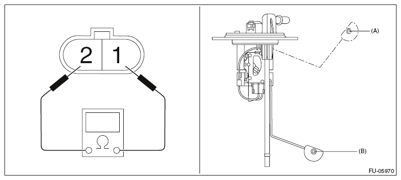
    Fig 1: Measuring Fuel Sub Level Sensor Float Position
    G10262286Courtesy of SUBARU OF AMERICA, INC.
    Float position Standard
    FULL to Datum point (A) 6.4±3.5 mm (0.252±0.138 in)
    EMPTY to Datum point (B) 163.3±3.5 mm (6.429±0.138 in)
  3. Measure the resistance between fuel sub level sensor terminals.
    Fig 2: Measuring Resistance Between Fuel Sub Level Sensor Terminals
    G10262287Courtesy of SUBARU OF AMERICA, INC.
    Float position Terminal No. Standard
    FULL (A) 1 and 2 8.7±1.0 Ω
    EMPTY (B) 270.9±4.0 Ω