lemon-mirror:
Home >> Subaru >> 2015 >> Outback 2.5i >> Repair and Diagnosis >> Suspension >> Front Suspension >> Front Strut >> Disposal

Front Strut: Disposal

CAUTION:
  • Before handling struts, be sure to wear goggles to protect eyes from gas, oil and cutting powder.
  • Do not disassemble the strut damper or throw into flames.
  • When discarding gas filled struts, drill holes in them to purge the gas.
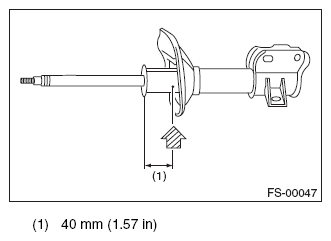
  1. Place the strut on a level surface with the piston rod fully expanded.
  2. Using a 2 - 3 mm (0.08 - 0.12 in) dia. drill, make holes in areas shown in the figure.
    Fig 1: Locating Drill Point
    G10276649Courtesy of SUBARU OF AMERICA, INC.