lemon-mirror:
Home >> Subaru >> 2015 >> WRX Base >> Repair and Diagnosis >> Suspension >> Front Suspension >> Front Strut >> Inspection >> Strut

Front Strut: Inspection: Strut

  1. Check for oil leaks.
  2. Move the piston rod up and down to check that it operates smoothly without any hitch.
  3. Check the piston rod for play.
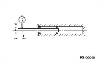
    1. Fix the outer shell in place and fully extend the rod.
    2. Set the dial gauge on the end of the rod L [10 mm (0.39 in)].
    3. While applying a force of W [20 N (2 kgf, 4 lbf)] to the threaded part, read the dial gauge indication P1.
    4. Apply a force of 20 N (2 kgf, 4 lbf) from the opposite direction of "W", and then read the dial gauge indication P2.
      Fig 1: Checking Piston Rod For Play
      G10269460Courtesy of SUBARU OF AMERICA, INC.

      Play limit (P 1  + P 2  ): 0.8 mm (0.031 in) 

  4. Replace the strut if faulty is found in the inspection or limit value is exceeded.