lemon-mirror:
Home >> Subaru >> 2016 >> WRX Base >> Repair and Diagnosis >> Steering >> Power Steering >> Power Steering System >> Pipe Assembly >> Inspection

Pipe Assembly: Inspection

Check all disassembled parts for wear, damage or other problems. Repair or replace the defective parts as necessary.

Part Maintenance parts Corrective action
Pipe
  • O-ring fitting surface damage
  • Nut damage
  • Pipe damage
Replace with a new part.
Hose
  • Flare surface damage
  • Flare nut damage
  • Outer surface cracks
  • Outer surface wear
  • Clip damage
  • End coupling or adapter deformation
Replace with a new part.
CAUTION: Although the surface layer materials of rubber hoses have excellent weathering resistance, heat resistance and resistance for low temperature brittleness, they are likely to be damaged chemically by brake fluid, battery electrolyte, engine oil and automatic transmission fluid and their service lives are to be very shortened. Wipe off hoses immediately if any of these come into contact with the hoses. Since resistances for heat or low temperature brittleness are gradually declining according to time accumulation of hot or cold conditions for the hoses and their service lives are shortening accordingly, it is necessary to perform careful inspection frequently when the vehicle is used in hot weather areas, cold weather areas and a driving condition in which many steering operations are required in short time.
Continuous discharge of the relief valve for 5 seconds or more will reduce the service lives of hoses, oil pump, fluid, etc., due to over heating.
Trouble Possible cause Corrective action
Pressure hose burst Excessive holding time of relief status Instruct customers.
Malfunction of the relief valve Replace the oil pump.
Poor cold characteristic of fluid Replace fluid.
Disconnection of the return hose Improper connection Repair.
Loosening of the clip Replace the hose and clip.
Poor cold characteristic of fluid Replace fluid.
Fluid slightly leaking out of hose Wrong layout, tensioned Replace the hose.
Excessive play of engine due to deterioration of engine mounting rubber Replace the parts if defective.
Improper stop position of pitching stopper Replace the parts if defective.
Crack on hose Excessive holding time of relief status Replace.
Instruct customers.
Power steering fluid, engine oil, electrolyte adhere on the hose surface Replace.
Be careful during service work.
NOTE: There are conditions in which a fluid leak is diagnosed, but is not actually leaking. This is because the fluid spilt during the last maintenance was not completely wiped off. Be sure to wipe off spilt fluid thoroughly after maintenance.
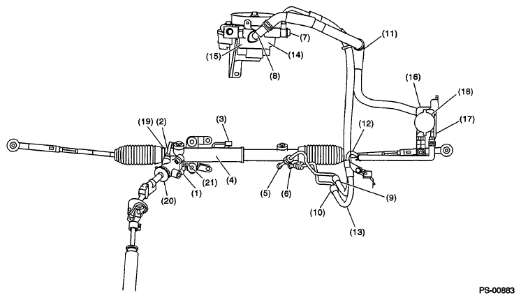
Fig 1: Identifying Pipes And Hoses Leakage Connections
G06346982Courtesy of SUBARU OF AMERICA, INC.
Fluid leaking area Possible cause Corrective action
Leakage from the connections of pipes and hoses, numbered (1) through (8) in the figure Insufficient tightening of flare nut, adhesion of dirt, damage to flare or flare nut or eyebolt Loosen and retighten. Replace if ineffective.
Improper installation of hose or clamp Replace.
Damaged O-ring or gasket Replace the O-ring, gasket pipe or hose with new part, if still no improvement, replace the gearbox or oil pump as well.
Leakage from hose (9) through (13) in the figure Crack or damage in hose Replace with a new part.
Crack or damage in hose hardware Replace with a new part.
Leakage from surrounding of aluminum portion of oil pump, (14) and (15) in the figure Damaged O-ring Replace the oil pump.
Damaged gasket Replace the oil pump.
Leakage from oil tank, (16) and (17) in the figure Crack in oil tank Replace the oil tank.
Leakage from filler neck of (18) Damaged cap packing Replace the cap.
Crack in root of filler neck Replace the oil tank.
Fluid level too high Adjust the fluid level.
Leakage from power cylinder of gearbox area (19) in the figure Damaged oil seal Replace the oil seal.
Leakage from (20), (21) in the figure and control valve of gearbox Damaged packing or oil seal Replace the faulty parts.
Damage in control valve Replace the control valve.