lemon-mirror:
Home >> Subaru >> 2016 >> WRX Base >> Repair and Diagnosis >> Suspension >> Front Suspension >> Front Strut >> Disposal

Front Strut: Disposal

CAUTION:
  • Before handling struts, be sure to wear goggles to protect eyes from gas, oil and cutting powder.
  • Do not disassemble the strut damper or throw into flames.
  • When discarding gas filled struts, drill holes in them to purge the gas.
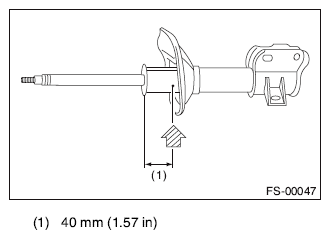
  1. Place the strut on a level surface with the piston rod fully expanded.
  2. Using a 2 - 3 mm (0.08 - 0.12 in) dia. drill, make holes in areas shown in the figure. (standard damper model)
    Fig 1: Identifying Hole Drilling Position
    G10294531Courtesy of SUBARU OF AMERICA, INC.
  3. Using a 2 - 3 mm (0.08 - 0.12 in) dia. drill, make a hole into the position (1) first, and then (2). (inverted damper model)
    Fig 2: Identifying Hole Drilling Position
    G10294532Courtesy of SUBARU OF AMERICA, INC.