lemon-mirror:
Home >> Subaru >> 2017 >> Forester 2.0XT Touring >> Repair and Diagnosis >> Engine Performance >> Engine Control Systems >> Fuel Injection System (H4DOTC) >> Engine Control Module (ECM) >> Removal

Engine Control Module (ECM): Removal

  1. Disconnect the ground cable from battery.
  2. While pressing the section (A) shown in the figure, move the lock lever (B) in the direction of the arrow to disconnect the connectors from the ECM in numerical order as shown in the figure.
    Fig 1: Moving Lock Lever
    G09476657Courtesy of SUBARU OF AMERICA, INC.
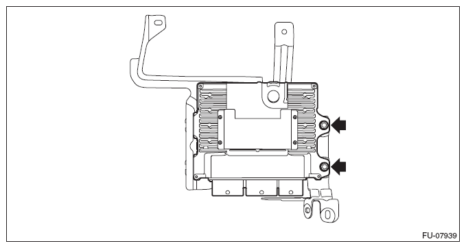
  3. Remove the bolt, nut, and clip (A), and remove the ECM.
    Fig 2: Locating ECM Cover Bolt, Nut And Clip
    G09479783Courtesy of SUBARU OF AMERICA, INC.
  4. Remove the ECM from the bracket.
    Fig 3: Locating ECM Bracket Nuts
    G09479784Courtesy of SUBARU OF AMERICA, INC.
  5. Remove clip (A) and connector (B), and remove the ECM bracket.
Fig 4: Locating ECM Bracket Bolt
G09479785Courtesy of SUBARU OF AMERICA, INC.