lemon-mirror:
Home >> Subaru >> 2017 >> Forester 2.0XT Touring >> Repair and Diagnosis >> Engine Performance >> Engine Control Systems >> Fuel Injection System (H4DOTC) >> Fuel Pump >> Installation

Fuel Pump: Installation

  1. Install the fuel pump assembly to the fuel tank.
    1. Make sure the sealing portion is free from fuel or foreign matter before installation.
    2. Align the protrusion (A) of the gasket to the position shown in the figure, and install the gasket from the lower side of the fuel pump assembly.
      NOTE: Use a new gasket.
    3. Align the protrusion (C) of fuel pump upper plate cushion with the protrusion (C) of the fuel pump assembly as shown in the figure, and install the fuel pump upper plate cushion from the upper side of the fuel pump assembly.
    4. Align the cutout of the fuel pump upper plate with the protrusion (C), and install the fuel pump upper plate from the upper side of the fuel pump assembly so that the protrusions (B) (3 places) of the gasket fit the holes of the fuel pump upper plate.
    5. Install the fuel pump assembly to the fuel tank in the direction shown in the figure, and tighten the nuts to the specified torque in the order as shown in the figure.
      CAUTION: Set the arm and float of the fuel level sensor while paying attention to prevent them from contacting the fuel tank. If the arm of the fuel level sensor is bent, the fuel gauge may not read correctly.

      Tightening torque: 

      4.4 N.m (0.4 kg-fm, 3.2 ft-lb)

    Fig 1: Fuel Pump Assembly Nuts Tightening Sequence
    G11265104Courtesy of SUBARU OF AMERICA, INC.
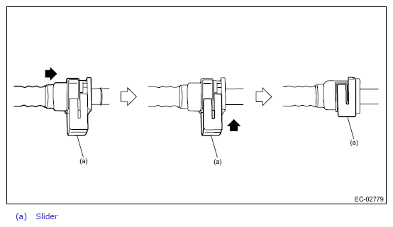
  2. Connect the quick connector of the fuel delivery tube and the jet pump tube.
    CAUTION:
    • Check that there is no damage or dust on the quick connector. If necessary, clean the seal surface of the pipe.
    • When connecting the quick connector, make sure to insert it all the way in before locking the slider.
    • When it is difficult to lock the slider, check that the connector is fully inserted.
    • After locking the slider, check that the quick connector is securely connected.
    NOTE: Connect the quick connector as shown in the figure.
    Fig 2: Connecting Quick Connector Of Fuel Delivery Tube
    G11265105Courtesy of SUBARU OF AMERICA, INC.
    Fig 3: Locating Fuel Delivery Tube Quick Connector
    G09475659Courtesy of SUBARU OF AMERICA, INC.
  3. Connect the connector to the fuel pump.
    Fig 4: Locating Fuel Pump Connector
    G09475615Courtesy of SUBARU OF AMERICA, INC.
  4. Install the service hole cover of fuel pump.
    Fig 5: Locating Service Hole Cover Screws
    G08315485Courtesy of SUBARU OF AMERICA, INC.
  5. Install the rear seat cushion. Ref. to SEATS>Rear Seat>INSTALLATION .
  6. Connect the battery ground terminal.