lemon-mirror:
Home >> Subaru >> 2017 >> Forester 2.0XT Touring >> Repair and Diagnosis >> Engine Performance >> Engine Control Systems >> Fuel Injection System (H4DOTC) >> Fuel Tank >> Installation

Fuel Tank: Installation

  1. Support the fuel tank with a transmission jack, set the fuel tank in place, and temporarily tighten the bolts of the fuel tank band.
    WARNING: A helper is required to perform this work.
    Fig 1: Locating Fuel Tank Band Bolts
    G09475626Courtesy of SUBARU OF AMERICA, INC.
  2. Tighten the bolts of the fuel tank band in the order shown in the figure.

    Tightening torque: 

    33 N.m (3.4 kg-fm, 24.3 ft-lb)

    Fig 2: Locating Fuel Tank Band Bolts
    G09475628Courtesy of SUBARU OF AMERICA, INC.
  3. Install the stay - rear frame COMPL.

    Tightening torque: 

    33 N.m (3.4 kg-fm, 24.3 ft-lb)

    Fig 3: Locating Complete Rear Frame Stay Bolts
    G09475625Courtesy of SUBARU OF AMERICA, INC.
  4. Install the heat shield cover and stopper.

    Tightening torque: 

    18 N.m (1.8 kg-fm, 13.3 ft-lb)

    Fig 4: Locating Heat Shield Cover And Stopper Bolts
    G09475624Courtesy of SUBARU OF AMERICA, INC.
  5. Install the fuel tank protector. Ref. to FUEL INJECTION (FUEL SYSTEMS) (H4DOTC)>Fuel Tank Protector>INSTALLATION .
  6. Connect the vent tube to the canister.
    CAUTION:
    • Check that there is no damage or dust on the quick connector. If necessary, clean the seal surface of the pipe.
    • Make sure that the quick connector is securely connected.
    NOTE: Connect the quick connector as shown in the figure.
    Fig 5: Connecting Vent Tube To Canister
    G08315501Courtesy of SUBARU OF AMERICA, INC.
    Fig 6: Locating Canister Vent Tube
    G08315493Courtesy of SUBARU OF AMERICA, INC.
  7. Securely insert the fuel filler hose (A) and evaporation hose (B) until the hose end contacts the spool, then attach the clamp or clip as shown in the figure.

    Tightening torque: 

    2.5 N.m (0.3 kg-fm, 1.8 ft-lb)

    Fig 7: Identifying Fuel Filler Hose And Evaporation Hose
    G08315491Courtesy of SUBARU OF AMERICA, INC.
    Fig 8: Checking Hose Clamp Dimensions
    G11265077Courtesy of SUBARU OF AMERICA, INC.
  8. Install the rear differential. Ref. to DIFFERENTIALS>Rear Differential (T-type)>INSTALLATION .
  9. Install the rear exhaust pipe and muffler. Ref. to EXHAUST(H4DOTC)>Rear Exhaust Pipe>INSTALLATION . Ref. to EXHAUST(H4DOTC)>Muffler>INSTALLATION .
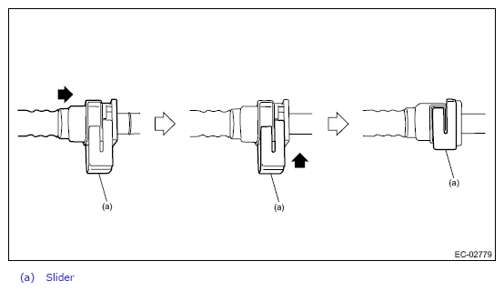
  10. Connect the quick connector of the fuel delivery tube.
    CAUTION:
    • Check that there is no damage or dust on the quick connector. If necessary, clean the seal surface of the pipe.
    • When connecting the quick connector, make sure to insert it all the way in before locking the slider.
    • When it is difficult to lock the slider, check that the connector is fully inserted.
    • After locking the slider, check that the quick connector is securely connected.
    NOTE: Connect the quick connector as shown in the figure.
    Fig 9: Connecting Quick Connector Of Fuel Delivery Tube
    G11265078Courtesy of SUBARU OF AMERICA, INC.
    Fig 10: Locating Quick Connector Of Fuel Delivery Tube
    G08315490Courtesy of SUBARU OF AMERICA, INC.
  11. Connect the connector to the fuel sub level sensor.
    Fig 11: Locating Connector Of Fuel Sub Level Sensor
    G08315488Courtesy of SUBARU OF AMERICA, INC.
  12. Install the service hole cover of fuel sub level sensor.
    Fig 12: Locating Service Hole Cover Screws
    G08315487Courtesy of SUBARU OF AMERICA, INC.
  13. Connect the connector to the fuel pump.
    Fig 13: Locating Fuel Pump Connector
    G09475615Courtesy of SUBARU OF AMERICA, INC.
  14. Install the service hole cover of fuel pump.
    Fig 14: Locating Fuel Pump Service Hole Cover Screws
    G08315485Courtesy of SUBARU OF AMERICA, INC.
  15. Install the rear seat cushion. Ref. to SEATS>Rear Seat>INSTALLATION .
  16. Connect the battery ground terminal.