lemon-mirror:
Home >> Subaru >> 2017 >> Forester 2.0XT Touring >> Repair and Diagnosis >> Transmission >> Automatic Trans >> Transmission Control Systems >> Select Cable >> Adjustment

Select Cable: Adjustment

  1. Shift the select lever to "N" range.
  2. Lift up the vehicle.
  3. Remove the center exhaust pipe. (Non-turbo model) Ref. to EXHAUST(H4DO)>Center Exhaust Pipe>REMOVAL .
  4. Remove the center exhaust pipe (rear). (Turbo model) Ref. to EXHAUST(H4DOTC)>Center Exhaust Pipe>REMOVAL .
  5. Remove the center exhaust cover.
    Fig 1: Identifying Select Cable Center Exhaust Cover
    G11270138Courtesy of SUBARU OF AMERICA, INC.
  6. Loosen the adjusting nuts on both sides.
    Fig 2: Identifying Select Cable Adjusting Nuts A And B
    G11265241Courtesy of SUBARU OF AMERICA, INC.
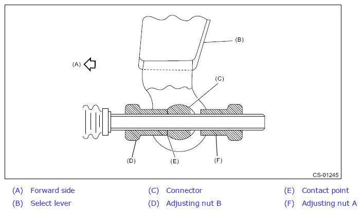
  7. Turn adjusting nut B until it lightly touches the connector.
    Fig 3: Identifying Select Cable Components
    G11265242Courtesy of SUBARU OF AMERICA, INC.
  8. Set a spanner wrench to adjusting nut B so that it does not rotate, and then tighten the adjusting nut A.

    Tightening torque: 

    7.5 N.m (0.8 kgf-m, 5.5 ft-lb)

    Fig 4: Tightening Select Cable Adjusting Nuts Using Spanner Wrench
    G11265243Courtesy of SUBARU OF AMERICA, INC.
  9. After the completion of adjustment, confirm that the select lever operates normally at all ranges.
  10. Installing procedure hereafter is in the reverse order of removal.