lemon-mirror:
Home >> Subaru >> 2017 >> Forester 2.5i, Eng CD FB25BA, Standard Trans >> Repair and Diagnosis >> Engine Performance >> Engine Control Systems >> Fuel Injection System (H4DO) >> Fuel Sub Level Sensor >> Inspection

Fuel Sub Level Sensor: Inspection

  1. Check that the fuel sub level sensor has no damage.
  2. Measure the fuel sub level sensor float position.
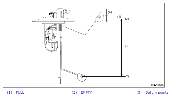
    Fig 1: Measuring Fuel Sub Level Sensor Float Position
    G11263479Courtesy of SUBARU OF AMERICA, INC.
    Float position Standard
    FULL to Datum point (A) 5.31±3.5 mm (0.209±0.138 in)
    EMPTY to Datum point (B) 160.6±3.5 mm (6.32±0.138 in)
  3. Measure the resistance between fuel sub level sensor terminals.
Fig 2: Measuring Resistance Between Fuel Sub Level Sensor Terminals
G08315563Courtesy of SUBARU OF AMERICA, INC.
Float position Terminal No. Standard
FULL (A) 1 and 2 8.7±1.0 Ω
EMPTY (B) 270.9±4.0 Ω