lemon-mirror:
Home >> Subaru >> 2017 >> Outback 2.5i >> Repair and Diagnosis >> Suspension >> Front Suspension >> Wheel Alignment >> Inspection >> Front Wheel Toe-In

Front Wheel Toe-In

Toe-in: Inspection value 

0±3 mm (0±0.12 in) 

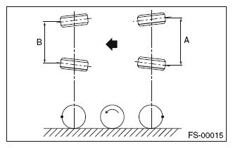
  1. Set the toe-in gauge in the position at wheel axis center height behind the right and left front tires.
  2. Place a mark at the center of both left and right tires, and measure distance "A" between the marks.
  3. Move the vehicle forward to rotate the tires 180°.
    NOTE: Be sure to rotate the tires in the forward direction.
  4. Measure the distance "B" between the left and right marks. Find toe-in using the following calculation:

A - B = Toe-in 

Fig 1: Checking Front Wheel Toe-In
G10323226Courtesy of SUBARU OF AMERICA, INC.