lemon-mirror:
Home >> Subaru >> 2017 >> WRX STI >> Repair and Diagnosis >> Engine Performance >> Engine Control Systems >> Fuel Injection System (2.5L) >> Fuel Tank >> Installation

Fuel Tank: Installation

  1. Support the fuel tank with a transmission jack, set the fuel tank in place, and temporarily tighten the bolts of the fuel tank band.
    WARNING: A helper is required to perform this work.
    Fig 1: Fuel Tank Band Bolts Location
    G10264912Courtesy of SUBARU OF AMERICA, INC.
  2. Tighten the bolts of the fuel tank band in the order shown in the figure.

    Tightening torque: 

    33 N.m (3.4 kgf-m, 24.3 ft-lb) 

    Fig 2: Fuel Tank Band Bolts Tightening Sequence
    G10264914Courtesy of SUBARU OF AMERICA, INC.
  3. Install the heat shield cover and stopper.

    Tightening torque: 

    18 N.m (1.8 kgf-m, 13.3 ft-lb) 

    Fig 3: Heat Shield Cover And Stopper Bolts
    G10264911Courtesy of SUBARU OF AMERICA, INC.
  4. Install the fuel tank protector. <Ref. to INSTALLATION , Fuel Tank Protector.>
  5. Connect the vent tube to the vent hose.
    Fig 4: Locating Vent Tube And Vent Hose Clamp
    G09487206Courtesy of SUBARU OF AMERICA, INC.
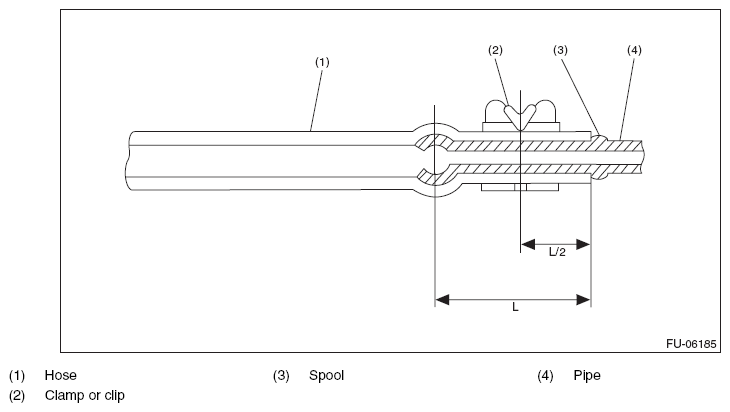
  6. Securely insert the fuel filler hose (A) and evaporation hose (B) until the hose end contacts the spool, then attach the clamp or clip as shown in the figure.

    Tightening torque: 

    2.5 N.m (0.3 kgf-m, 1.8 ft-lb) 

    Fig 5: Fuel Filler Pipe Assembly
    G10264909Courtesy of SUBARU OF AMERICA, INC.
    Fig 6: Locating Fuel Filler Hose And Pipe Assembly Components
    G11571663Courtesy of SUBARU OF AMERICA, INC.
  7. Install the rear differential. <Ref. to INSTALLATION , Rear Differential (T-type).>
  8. Install the rear exhaust pipe. <Ref. to INSTALLATION , Rear Exhaust Pipe.>
  9. Connect the quick connector of fuel delivery tube (A) and fuel return tube (B). <Ref. to INSTALLATION , Fuel Delivery, Return and Evaporation Lines.>
    WARNING: When connecting, be careful not to reverse the delivery side and return side.
    Fig 7: Locating Fuel Delivery/Return Tube Connector
    G10264908Courtesy of SUBARU OF AMERICA, INC.
  10. Connect the connector to the fuel sub level sensor.
    Fig 8: Disconnecting Connector From Fuel Sub Level Sensor
    G10264907Courtesy of SUBARU OF AMERICA, INC.
  11. Install the service hole cover of fuel sub level sensor.
    Fig 9: Locating Service Hole Cover Of Fuel Sub Level Sensor
    G10264906Courtesy of SUBARU OF AMERICA, INC.
  12. Connect the connector to the fuel pump.
    Fig 10: Locating Fuel Pump Connector
    G10264905Courtesy of SUBARU OF AMERICA, INC.
  13. Install the service hole cover of fuel pump.
    Fig 11: Locating Bolts Of Fuel Tank Service Hole Cover
    G08315485Courtesy of SUBARU OF AMERICA, INC.
  14. Install the rear seat cushion. <Ref. to INSTALLATION , Rear Seat.>
  15. Connect the battery ground terminal.