lemon-mirror:
Home >> Subaru >> 2018 >> BRZ tS >> Repair and Diagnosis >> Electrical >> Starter >> Engine Starting System >> Relay >> Unit Inspection

Unit Inspection

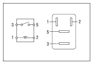
  1. ST relay check
    1. Check the resistance between relay connector terminals.
    G12587343Courtesy of SUBARU OF AMERICA, INC.
    STANDARD VALUE RESISTANCE SPECIFICATION

    Inspection terminals Inspection conditions Standard value
    1 - 2 20°C 93.8 to 136.4Ω
    3 - 5 When the battery voltage is not applied to the terminal 1 and terminal 2: 10 k Ωor more
    When the battery voltage is applied to the terminal 1 and terminal 2: Less than 1 Ω
    G12587344Courtesy of SUBARU OF AMERICA, INC.
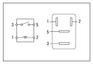
  2. INHIBITOR relay check
    1. Check the resistance between relay connector terminals.
    STANDARD VALUE RESISTANCE SPECIFICATION

    Inspection terminals Inspection conditions Standard value
    1 - 2 20°C 93.8 to 136.4Ω
    3 - 5 When the battery voltage is not applied to the terminal 1 and terminal 2: 10 k Ωor more
    When the battery voltage is applied to the terminal 1 and terminal 2: Less than 1 Ω
    G12587345Courtesy of SUBARU OF AMERICA, INC.
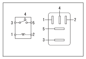
  3. ST CUT relay check (with smart key system)
    1. Check the resistance between relay connector terminals.
    STANDARD VALUE RESISTANCE SPECIFICATION

    Inspection terminals Inspection conditions Standard value
    1 - 2 20°C 93.8 to 136.4Ω
    3 - 4 When the battery voltage is not applied to the terminal 1 and terminal 2: Less than 1 Ω
    When the battery voltage is applied to the terminal 1 and terminal 2: 10 k Ωor more
    3 - 5 When the battery voltage is not applied to the terminal 1 and terminal 2: 10 k Ωor more
    When the battery voltage is applied to the terminal 1 and terminal 2: Less than 1 Ω
    G12587346Courtesy of SUBARU OF AMERICA, INC.
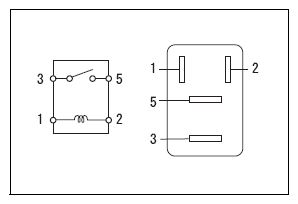
  4. IGS relay check (with smart key system)
    1. Check the resistance between relay connector terminals.
    STANDARD VALUE RESISTANCE SPECIFICATION

    Inspection terminals Inspection conditions Standard value
    1 - 2 20°C 93.8 to 136.4Ω
    3 - 5 When the battery voltage is not applied to the terminal 1 and terminal 2: 10 k Ωor more
    When the battery voltage is applied to the terminal 1 and terminal 2: Less than 1 Ω