lemon-mirror:
Home >> Subaru >> 2018 >> Forester 2.0XT Touring >> Repair and Diagnosis >> Engine Performance >> Engine Control Systems >> Engine Control/Fuel Injection System (H4DOTC) >> Engine Control Module (ECM) >> Removal

Engine Control Module (ECM): Removal

  1. Disconnect the ground cable from battery.
  2. While pressing the section (A) shown in the figure, move the lock lever (B) in the direction of the arrow to disconnect the connectors from the ECM in numerical order as shown in the figure.
    G12509032Courtesy of SUBARU OF AMERICA, INC.
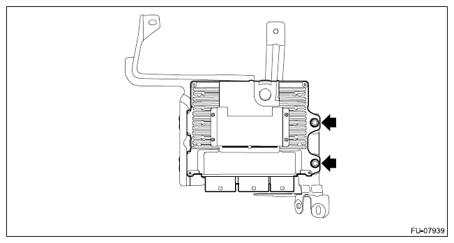
  3. Remove the bolt, nut, and clip (A), and remove the ECM.
    G12509033Courtesy of SUBARU OF AMERICA, INC.
  4. Remove the ECM from the bracket.
    G12509034Courtesy of SUBARU OF AMERICA, INC.
  5. Remove clip (A) and connector (B), and remove the ECM bracket.
    G12509035Courtesy of SUBARU OF AMERICA, INC.