lemon-mirror:
Home >> Subaru >> 2018 >> Legacy 2.5i >> Repair and Diagnosis >> Engine Performance >> Engine Control Systems >> Engine Control/Fuel System (H4DO) >> Fuel Injector >> Installation

Fuel Injector: Installation

  1. Install the fuel injector to the fuel pipe.
    NOTE: Use new O-rings and rubbers.
    G10262189Courtesy of SUBARU OF AMERICA, INC.
  2. Install the fuel injector and fuel pipe as a unit, and install the bolt securing the fuel pipe to the cam carrier.
    NOTE: Use new seal rings.

    Tightening torque: 

    6.4 N.m (0.7 kgf-m, 4.7 ft-lb)

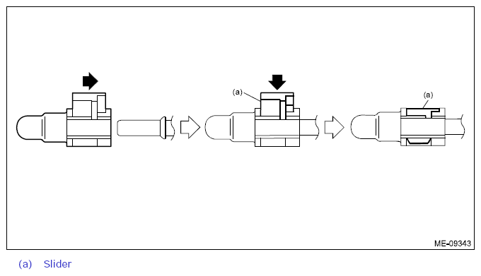
  3. Connect the fuel delivery pipe (B) to the fuel pipe LH.
    CAUTION:
    • Check that there is no damage or dust on the quick connector. If necessary, clean the seal surface of the pipe.
    • When connecting the quick connector, make sure to insert it all the way in before locking the slider.
    • When it is difficult to lock the slider, check that the connector is fully inserted.
    • After locking the slider, check again that the quick connector is securely connected.
    NOTE: Connect the quick connector as shown in the figure.
    G12403321Courtesy of SUBARU OF AMERICA, INC.
  4. Connect the connectors (A) to fuel injector.
    G10262188Courtesy of SUBARU OF AMERICA, INC.
  5. Install the intake manifold protector RH. (RH side only)

    Tightening torque: 

    6.4 N.m (0.7 kgf-m, 4.7 ft-lb)

    G10262120Courtesy of SUBARU OF AMERICA, INC.
  6. When installing the LH side, perform the following steps.
    1. Install the intake manifold protector LH and secure the engine wiring harness with the tie-wrap (A).
      NOTE: Use a new tie-wrap.

      Tightening torque: 

      6.4 N.m (0.7 kgf-m, 4.7 ft-lb)

      G12403250Courtesy of SUBARU OF AMERICA, INC.
  7. Install the air cleaner case (rear) together with the air cleaner element. (RH side only) Ref. to INTAKE (INDUCTION) (H4DO)>Air Cleaner Case>INSTALLATION
  8. Secure the bulkhead wiring harness with clip (B) and connect the connector (A) to the mass air flow and intake air temperature sensor. (RH side only)
    G10262137Courtesy of SUBARU OF AMERICA, INC.
  9. Install the air intake duct. (RH side only) Ref. to INTAKE (INDUCTION) (H4DO)>Air Intake Duct>INSTALLATION
  10. Install the air intake boot. (RH side only) Ref. to INTAKE (INDUCTION) (H4DO)>Air Intake Boot>INSTALLATION
  11. Connect the ground terminal to battery sensor. Ref. to REPAIR CONTENTS>NOTE>BATTERY