lemon-mirror:
Home >> Subaru >> 2018 >> Legacy 2.5i >> Repair and Diagnosis >> Engine Performance >> Engine Control Systems >> Engine Control/Fuel System (H4DO) >> Knock Sensor >> Inspection

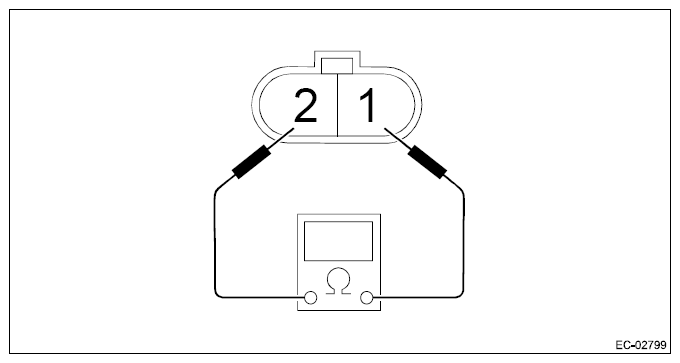
Knock Sensor: Inspection

  1. Check that the knock sensor has no deformation, cracks or other damages.
  2. Measure the resistance between knock sensor terminals.
    G12403304Courtesy of SUBARU OF AMERICA, INC.
    Terminal No. Standard
    1 and 2 560±28 kΩ