lemon-mirror:
Home >> Subaru >> 2018 >> WRX Base >> Repair and Diagnosis >> Suspension >> Wheel Alignment >> Front Suspension System And Wheel Alignment >> Front Stabilizer >> Installation

Front Stabilizer: Installation

CAUTION: Install the under cover - front so that the front end of the under cover (b) comes inside the bumper face - front (a).
G10269429
  1. Before installation, inspect the following items and replace any faulty part with a new one.
    • Check the bushing - stabilizer for abnormal cracks, fatigue or damage.
    • Check the stabilizer link for damage.
  2. Install the front stabilizer.
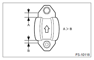
    CAUTION: Install the clamp - stabilizer bushing with the arrow mark facing the front of the vehicle.
    G12443152

    Tightening Torque:

    Stabilizer link: 60 N.m (6.1 kgf-m, 44.3 ft-lb)

    Clamp - stabilizer: 25 N.m (2.5 kgf-m, 18.4 ft-lb)

  3. Install the front crossmember support.

    Tightening Torque:

    Refer to "COMPONENT" of "General Description" for the Tightening Torque. Ref. to FRONT SUSPENSION>General Description>COMPONENT>FRONT SUSPENSION .

  4. Install the under cover - front. Ref. to EXTERIOR/INTERIOR TRIM>Front Under Cover>INSTALLATION .
  5. Lower the vehicle, and install the front wheels.

    Tightening Torque:

    120 N.m (12.2 kgf-m, 88.5 ft-lb)