lemon-mirror:
Home >> Subaru >> 2019 >> Forester Base >> Repair and Diagnosis >> Transmission >> Transmission Control Systems >> Shift Lock Control System >> Wiring Diagram

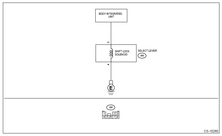
Shift Lock Control System: Wiring Diagram

G13225466Courtesy of SUBARU OF AMERICA, INC.