lemon-mirror:
Home >> Subaru >> 2019 >> Outback 2.5i >> Repair and Diagnosis >> Suspension >> Wheel Alignment >> Front Suspension System And Wheel Alignment >> Front Strut >> Disposal

Front Strut: Disposal

CAUTION:
  • Before handling the strut damper and shock absorber, be sure to wear goggles to protect eyes from gas, oil and cutting powder.
  • Do not disassemble the strut damper and shock absorber or place them into a fire.
  • When discarding gas filled strut dampers and shock absorbers, drill holes in them to purge the gas.
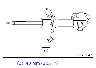
  1. Place the strut damper and shock absorber on a level surface with the piston rod fully expanded.
  2. Make a hole into the specified position 30 mm (1.18 in) deep using a drill with 2 - 3 mm (0.08 - 0.12 in) diameter.
    G13248692Courtesy of SUBARU OF AMERICA, INC.