lemon-mirror:
Home >> Subaru >> 2019 >> Outback 3.6R Limited >> Repair and Diagnosis >> Engine Performance >> Engine Control Systems >> Fuel Injection System (3.6L) >> Fuel Tank >> Installation

Fuel Tank: Installation

  1. Support the fuel tank with a transmission jack, set the fuel tank and the fuel tank band in place, and temporarily tighten the bolts of the fuel tank band.
    WARNING: A helper is required to perform this work.
    G10262238Courtesy of SUBARU OF AMERICA, INC.
  2. Correctly insert the fuel filler hose to the spool, and then install the clamp as shown.

    Tightening torque: 

    2.5 N.m (0.3 kgf-m, 1.8 ft-lb)

    G10262221Courtesy of SUBARU OF AMERICA, INC.
    G13247870Courtesy of SUBARU OF AMERICA, INC.
  3. Connect the quick connector of the circulate tube to the evaporation pipe as shown in the figure.
    CAUTION:
    • Check that there is no damage or dust on the quick connector. If necessary, clean the seal surface of the pipe.
    • Make sure that the quick connector is securely connected.
    G08579779Courtesy of SUBARU OF AMERICA, INC.
    G10262235Courtesy of SUBARU OF AMERICA, INC.
  4. Connect the air vent hose to fuel tank.
    G10262233Courtesy of SUBARU OF AMERICA, INC.
  5. Move the fuel tank so that the distance between the center of the positioning hole for the body (A) and the front end of the fuel tank flange (B) becomes L, and tighten the bolts of the fuel tank bands in the sequence shown in the figure.
    CAUTION: To prevent the fuel tank from damage, after tightening the bolts of the fuel tank bands, make sure that the distance between the center of the positioning hole for the body (A) and the front end of the fuel tank flange (B) is L.

    Distance L: Center of the positioning hole for the body (A) - Front end of the fuel tank flange (B) 

    14.5 mm (0.571 in) or less

    Tightening torque: 

    33 N.m (3.4 kgf-m, 24.3 ft-lb)

    Fig 1: Fuel Tank Bands Bolts Tightening Sequence
    G10262245Courtesy of SUBARU OF AMERICA, INC.
  6. Install the heat shield cover.

    Tightening torque: 

    18 N.m (1.8 kgf-m, 13.3 ft-lb)

    G10262237Courtesy of SUBARU OF AMERICA, INC.
  7. Install the rear sub frame assembly. Ref. to REAR SUSPENSION>REAR SUB FRAME>INSTALLATION .
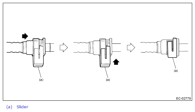
  8. Connect the quick connector of the fuel delivery tube.
    CAUTION:
    • Check that there is no damage or dust on the quick connector. If necessary, clean the seal surface of the pipe.
    • When connecting the quick connector, make sure to insert it all the way in before locking the slider.
    • When it is difficult to lock the slider, check that the connector is fully inserted.
    • After locking the slider, check again that the quick connector is securely connected.
    NOTE: Connect the quick connector as shown in the figure.
    G13247876Courtesy of SUBARU OF AMERICA, INC.
    G10262232Courtesy of SUBARU OF AMERICA, INC.
  9. Connect the connector to the fuel sub level sensor.
    G10262230Courtesy of SUBARU OF AMERICA, INC.
  10. Install the service hole cover of fuel sub level sensor.
    G10262229Courtesy of SUBARU OF AMERICA, INC.
  11. Connect the connector to the fuel pump.
    G10262228Courtesy of SUBARU OF AMERICA, INC.
  12. Install the service hole cover of fuel pump.
    G10262227Courtesy of SUBARU OF AMERICA, INC.
  13. Install the rear seat cushion. Ref. to SEATS>REAR SEAT>INSTALLATION .
  14. Connect the ground terminal to battery sensor. Ref. to REPAIR CONTENTS>NOTE>BATTERY .