lemon-mirror:
Home >> Subaru >> 2019 >> WRX Base >> Repair and Diagnosis >> Transmission >> Automatic Trans >> Transmission Control Systems >> MT Gear Shift Lever >> Assembly

MT Gear Shift Lever: Assembly

NOTE:
  1. Mount the bushing and cushion rubber to the stay.
    G13260545Courtesy of SUBARU OF AMERICA, INC.
  2. Install the bushing and spacer to boss.
    G13260546Courtesy of SUBARU OF AMERICA, INC.
  3. Install the snap ring and install the bushing.
    NOTE: Apply grease to the bushing.
    G13260547Courtesy of SUBARU OF AMERICA, INC.
  4. Apply grease to the bushing and O-ring, and then install to gear shift lever.
    G13260548Courtesy of SUBARU OF AMERICA, INC.
  5. Apply sufficient grease into boss, and then install the gear shift lever to the stay.
    G10267882Courtesy of SUBARU OF AMERICA, INC.
  6. Install the snap ring.
    G13260550Courtesy of SUBARU OF AMERICA, INC.
  7. Insert the gear shift lever and rod into boot hole.
  8. Install the rod.

    Tightening torque: 

    12 N.m (1.2 kgf-m, 8.9 ft-lb)

    G13260551Courtesy of SUBARU OF AMERICA, INC.
  9. Install the boss to the rod.

    Tightening torque: 

    12 N.m (1.2 kgf-m, 8.9 ft-lb)

    G13260552Courtesy of SUBARU OF AMERICA, INC.
  10. Install a new lock wire.
    G13260553Courtesy of SUBARU OF AMERICA, INC.
    NOTE:
    • Install the lock wire to the stay groove.
    • Bend the extra wire to the same direction of lock wire winding.
    G13260554Courtesy of SUBARU OF AMERICA, INC.
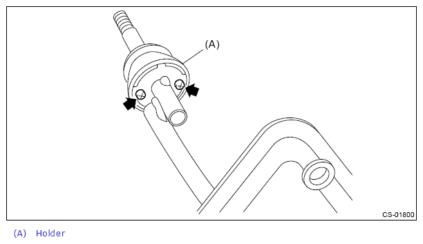
  11. Install the holder.

    Tightening torque: 

    1.3 N.m (0.1 kgf-m, 1.0 ft-lb)

    G13260555Courtesy of SUBARU OF AMERICA, INC.
  12. Insert the reverse check cable into the boot hole.
  13. Insert the reverse check cable into the gear shift assembly, and fix in place with a band clip.
    NOTE:
    • Cut the excess band clip.
    • Make sure that the reverse check cable is inserted into the gearshift lever assembly with no gaps.
    G10267874Courtesy of SUBARU OF AMERICA, INC.
  14. Install the seat cushion and spring.
    G13260557Courtesy of SUBARU OF AMERICA, INC.
  15. Use the spring pin to secure the end of the slider and reverse check cable.
    NOTE: Apply grease to the moving part of slider.
    G13260558Courtesy of SUBARU OF AMERICA, INC.
  16. Install the reverse check cable to the cable plate, and tighten the lock nut.

    Tightening torque: 

    6 N.m (0.6 kgf-m, 4.4 ft-lb)

    G13260559Courtesy of SUBARU OF AMERICA, INC.
  17. Secure the reverse check cable to the stay clip.
    NOTE: Install the reverse check cable on top of the stay.
    G13260560Courtesy of SUBARU OF AMERICA, INC.