lemon-mirror:
Home >> Subaru >> 2019 >> WRX Base >> Repair and Diagnosis >> Transmission >> Automatic Trans >> Transmission Control Systems >> MT Gear Shift Lever >> Disassembly

MT Gear Shift Lever: Disassembly

NOTE: Disassemble procedures are only for STI model.
  1. Remove the spring pin from the slider.
    G13260530Courtesy of SUBARU OF AMERICA, INC.
  2. Remove the slider and spring.
    G13260531Courtesy of SUBARU OF AMERICA, INC.
  3. Cut off the band clip.
    G10267874Courtesy of SUBARU OF AMERICA, INC.
  4. Remove the reverse check cable from the cable plate.
    G13260533Courtesy of SUBARU OF AMERICA, INC.
  5. Remove the reverse check cable.
    G10267876Courtesy of SUBARU OF AMERICA, INC.
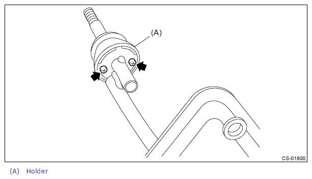
  6. Remove the holder and spring.
    G13260535Courtesy of SUBARU OF AMERICA, INC.
  7. Disassemble the lock wire.
    NOTE: Do not reuse the lock wire.
    G13260536Courtesy of SUBARU OF AMERICA, INC.
  8. Remove the boss from the rod.
    G13260537Courtesy of SUBARU OF AMERICA, INC.
  9. Remove the rod from lever.
    G13260538Courtesy of SUBARU OF AMERICA, INC.
  10. Separate the rod and inner boot.
  11. Remove the snap ring.
    G13260539Courtesy of SUBARU OF AMERICA, INC.
  12. Separate the gear shift lever and the stay.
    G10267882Courtesy of SUBARU OF AMERICA, INC.
  13. Remove the O-ring and bushing.
    G13260541Courtesy of SUBARU OF AMERICA, INC.
  14. Remove the spring pin, and then remove the bushing and snap ring.
    G13260542Courtesy of SUBARU OF AMERICA, INC.
  15. Remove the bushing and spacer from the boss.
    G13260543Courtesy of SUBARU OF AMERICA, INC.
  16. Remove the bushing and cushion rubber from the stay.
    G13260544Courtesy of SUBARU OF AMERICA, INC.