lemon-mirror:
Home >> Subaru >> 2020 >> Crosstrek Base, Standard Trans >> Repair and Diagnosis >> Engine Performance >> Engine Control Systems >> Fuel Injection System (Except For HEV) >> Knock Sensor >> Installation

Knock Sensor: Installation

  1. Install the knock sensor to the cylinder block, and connect the connector to the knock sensor.
    NOTE:
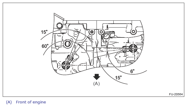
    • Knock sensor must be positioned so that the connector center comes within the range shown in the figure.
    • Make sure that the knock sensor and its connector do not touch the adjacent parts.

    Tightening torque: 

    25 N.m (2.5 kgf-m, 18.4 ft-lb)

    G13600266Courtesy of SUBARU OF AMERICA, INC.
  2. Install the air intake boot. Refer to INTAKE (INDUCTION) (H4DO (EXCEPT FOR HEV))>AIR INTAKE BOOT>INSTALLATION .
  3. Connect the ground terminal to 12V engine restart battery sensor. Refer to REPAIR CONTENTS>REPAIR CONTENTS>NOTE>BATTERY .