lemon-mirror:
Home >> Subaru >> 2020 >> Crosstrek Base, Standard Trans >> Repair and Diagnosis >> Transmission >> Automatic Trans >> Transmission Control System >> Select Cable >> Adjustment

Select Cable: Adjustment

  1. Shift the select lever to "N" range.
  2. Lift up the vehicle.
  3. Remove the center exhaust cover.
    • Except for Crosstrek hybrid model
      G13230505Courtesy of SUBARU OF AMERICA, INC.
    • Crosstrek hybrid model
    G13230506Courtesy of SUBARU OF AMERICA, INC.
  4. Loosen the adjusting nuts on both sides.
    G13602914Courtesy of SUBARU OF AMERICA, INC.
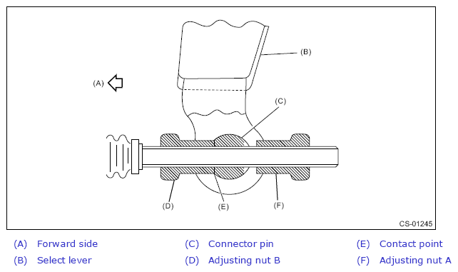
  5. Turn adjusting nut B until it lightly touches the connector pin.
    G13602915Courtesy of SUBARU OF AMERICA, INC.
  6. Set a spanner wrench to adjusting nut B so that it does not rotate, and then tighten the adjusting nut A.

    Tightening torque: 

    7.5 N.m (0.8 kgf-m, 5.5 ft-lb)

    G13602916Courtesy of SUBARU OF AMERICA, INC.
  7. After the completion of adjustment, confirm that the select lever operates normally at all ranges.
  8. Install in the reverse order of removal.