lemon-mirror:
Home >> Subaru >> 2021 >> Ascent Base >> Repair and Diagnosis >> Electrical >> Charging Systems >> Starting System & Charging System >> Battery Sensor >> Removal

Battery Sensor: Removal

  1. Disconnect the connector and ground terminal.
    G13199268Courtesy of SUBARU OF AMERICA, INC.
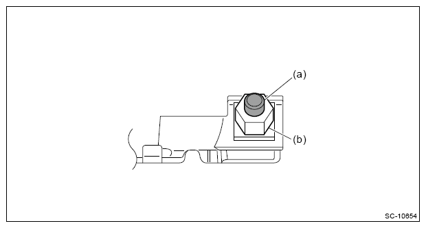
  2. Remove the battery sensor.
CAUTION: The end of the bolt (a) of the battery sensor is crimped. Therefore, do not loosen the nut (b) to the crimped portion.
G13230760Courtesy of SUBARU OF AMERICA, INC.
G13199269Courtesy of SUBARU OF AMERICA, INC.