lemon-mirror:
Home >> Subaru >> 2021 >> Ascent Base >> Repair and Diagnosis >> Electrical >> Horns >> Horn System >> Horn >> Inspection

Horn System: Horn: Inspection

  1. Remove the horn assembly (Hi side & Lo side). Ref. to COMMUNICATION SYSTEM>Horn>REMOVAL .
  2. Check the horn sounds when applying the battery voltage to the horn assembly.
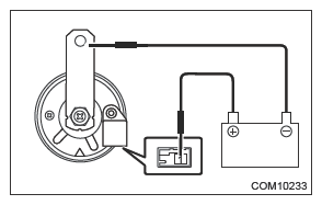
    • Horn assembly Hi side
      G13864780Courtesy of SUBARU OF AMERICA, INC.
      Terminal No. Inspection conditions Specification
      Connector terminal (+) - Horn case (-) Connect battery to the terminals Sounds
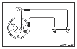
    • Horn assembly Lo side
      G13864781Courtesy of SUBARU OF AMERICA, INC.
      Terminal No. Inspection conditions Specification
      Connector terminal (+) - Horn case (-) Connect battery to the terminals Sounds
  3. If it does not operate normally, replace the horn assembly.