lemon-mirror:
Home >> Subaru >> 2021 >> Ascent Base >> Repair and Diagnosis >> Suspension >> Rear Suspension System >> Trailing Link >> Assembly

Trailing Link: Assembly

  1. Before assembly, inspect the following items and replace any faulty part with a new one.
    • Perform visual check for damage or bend on the trailing link assembly rear.
    • Visually check the bushing for abnormal cracks, fatigue or damage.
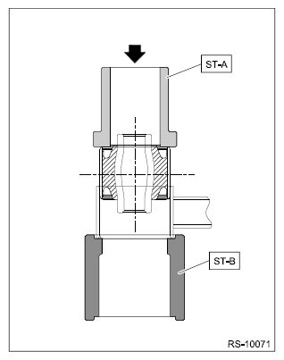
  2. Using the ST-A and ST-B, press-fit the rubber bushing trailing link.
CAUTION: Make sure to press the bushing straight in.

Preparation tool: 

ST-A: BUSHING REMOVER (20099FG000)

ST-B: INSTALLER & REMOVER (20099PA010)

G12400643Courtesy of SUBARU OF AMERICA, INC.