lemon-mirror:
Home >> Subaru >> 2021 >> Ascent Base >> Repair and Diagnosis >> Transmission >> Automatic Trans >> CVT Transaxle System >> Forward Clutch >> Assembly

Forward Clutch: Assembly

  1. Install the forward clutch piston to forward clutch drum.
    CAUTION:
    • Before installing the forward clutch piston, apply sufficient amount of CVTF to the seal surface in order to avoid damage and deformation.
    • Use SUBARU genuine CVTF.
    G13200196Courtesy of SUBARU OF AMERICA, INC.
  2. Install the return spring.
  3. Install the forward clutch piston retainer.
    CAUTION:
    • Before installing the forward clutch piston retainer, apply sufficient amount of CVTF to the seal surface in order to avoid damage and deformation.
    • Use SUBARU genuine CVTF.
  4. Compress the return spring using the ST and a press to install the snap ring.

    Preparation tool: 

    ST: COMPRESSOR SPECIAL TOOL (18762AA001)

    G13200192Courtesy of SUBARU OF AMERICA, INC.
  5. Install the thrust bearing.
    NOTE: Install the thrust bearing in the correct direction.
    G10276233Courtesy of SUBARU OF AMERICA, INC.
  6. Install the snap ring.
    G10276234Courtesy of SUBARU OF AMERICA, INC.
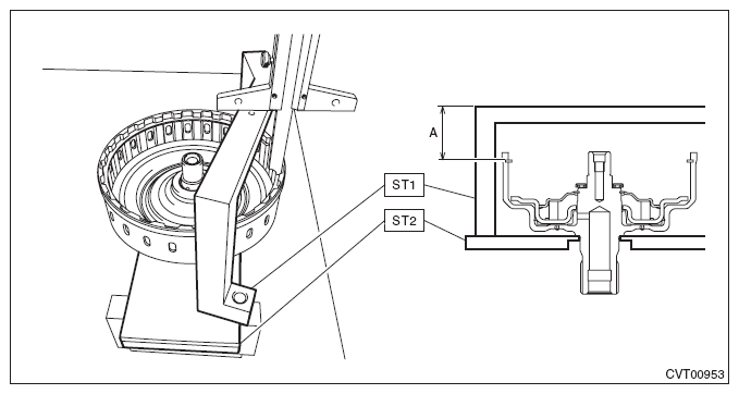
  7. Measure the height "A" from the ST end surface to the snap ring of forward clutch drum using the ST1 and ST2 on the surface plate.
    NOTE:
    • Measure while lifting the snap ring.
    • Perform measurement at the dent on the ST1 upper face.

    Preparation tool: 

    ST1: PULLER SET (499737100)

    ST2: GAUGE (499575600)

    G10276235Courtesy of SUBARU OF AMERICA, INC.
  8. Measure height "B" from the ST end surface to the thrust bearing using the ST1 and ST2.
    NOTE: Perform measurement at the dent on the ST1 upper face.

    Preparation tool: 

    ST1: PULLER SET (499737100)

    ST2: GAUGE (499575600)

    G10276236Courtesy of SUBARU OF AMERICA, INC.
  9. Remove the snap ring.
    G10276234Courtesy of SUBARU OF AMERICA, INC.
  10. Place flat boards on the surface plate, and place the snap ring and then planetary carrier overlapping neatly.
    NOTE: Carefully place them so that the outermost finished surface of planetary carrier overlaps the snap ring.
    G13864019Courtesy of SUBARU OF AMERICA, INC.
  11. Install the thrust bearing.
    NOTE: Make sure to install in the right direction.
    G10276239Courtesy of SUBARU OF AMERICA, INC.
  12. Install the sun gear.
    NOTE: Make sure to install in the right direction.
    G10276240Courtesy of SUBARU OF AMERICA, INC.
  13. Install the forward clutch hub.
    G10276241Courtesy of SUBARU OF AMERICA, INC.
  14. Using the ST, measure the height "C" from the ST end surface to the flat board with the snap ring placed on.
    NOTE: Perform measurement at the dent on the ST upper face.

    Preparation tool: 

    ST: PULLER SET (499737100)

    G10276242Courtesy of SUBARU OF AMERICA, INC.
  15. Using the ST, measure the height "D" from the ST end surface to the washer catch surface of the forward clutch hub.
    NOTE: Place the measurement tool at the dent on ST upper face to measure.

    Preparation tool: 

    ST: PULLER SET (499737100)

    G10276243Courtesy of SUBARU OF AMERICA, INC.
  16. Obtain the thickness of washer using the values measured from step 7 to step 15.

    Calculation formula:

    T mm = (B - A) - (C - D) - (0.0 - 0.20)

    [T in = (B - A) - (C - D) - (0.0 - 0.008)]

    T: Washer thickness

    A: Height from the ST end surface to the snap ring of the forward clutch drum

    B: Height from the ST end surface to the thrust bearing

    C: Height from the ST end surface to the flat board with the snap ring placed on

    D: Height from the ST end surface to the washer catch surface of the forward clutch hub 0.0 - 0.20 mm (0.0 - 0.008 in): Clearance

  17. Select the washer to meet the value "T" obtained from step 16.
  18. Install the dish plate, drive plate, driven plate and retaining plate.
  19. Install the planetary carrier.
  20. Install the snap ring.
  21. Hold the forward clutch drum on a vise, and set the magnet stand and dial gauge (spindle type).
    G13622195Courtesy of SUBARU OF AMERICA, INC.
  22. Lift the planetary carrier, and read the value "A" indicated on the dial gauge.
    NOTE: Measure at four points with a 90° interval and calculate the average.
    G13864026Courtesy of SUBARU OF AMERICA, INC.
  23. If the value "A" measured in step 22 exceeds the limit, replace the drive plate and driven plate with new parts and select the retaining plate within the standard value.

    Specification: 

    1.2 - 1.6 mm (0.047 - 0.063 in)

    Service limit: 

    2.4 mm (0.09 in)

  24. Remove the snap ring and the planetary carrier assembly.
  25. Replace with the retaining plate selected in step 23.
  26. Install the thrust bearing.
    NOTE: Install the thrust bearing in the correct direction.
    G13200211Courtesy of SUBARU OF AMERICA, INC.
  27. Install the washer selected in step 17.
  28. Install the forward clutch hub.
  29. Install the sun gear.
  30. Install the thrust bearing.
    NOTE: Install the thrust bearing in the correct direction.
    G10276219Courtesy of SUBARU OF AMERICA, INC.
  31. Install the planetary carrier.
  32. Install the snap ring.
  33. Install the thrust bearing.
    NOTE: Install the thrust bearing in the correct direction.
    G10276216Courtesy of SUBARU OF AMERICA, INC.
  34. Install the thrust gear plate to the internal gear.
  35. Install the snap ring.
  36. Install the internal gear.